| Обозначение: |  ГОСТ Р 59115.14-2021 |
| Статус: | действующий |
| Название рус.: | Обоснование прочности оборудования и трубопроводов атомных энергетических установок. Расчет на сопротивление хрупкому разрушению корпуса водо-водяного энергетического реактора |
| Название англ.: | Rules for strength assessment of equipment and pipelines of nuclear power installations. Strength assessment of pressure water reactor vessel |
| Дата актуализации текста: | 01.01.2022 |
| Дата актуализации описания: | 01.07.2023 |
| Дата издания: | 01.12.2021 |
| Дата введения: | 01.01.2022 |
| Нормативные ссылки: | ГОСТ Р 50.05.12-2018; ГОСТ Р 59115.1; ГОСТ Р 59115.6 |
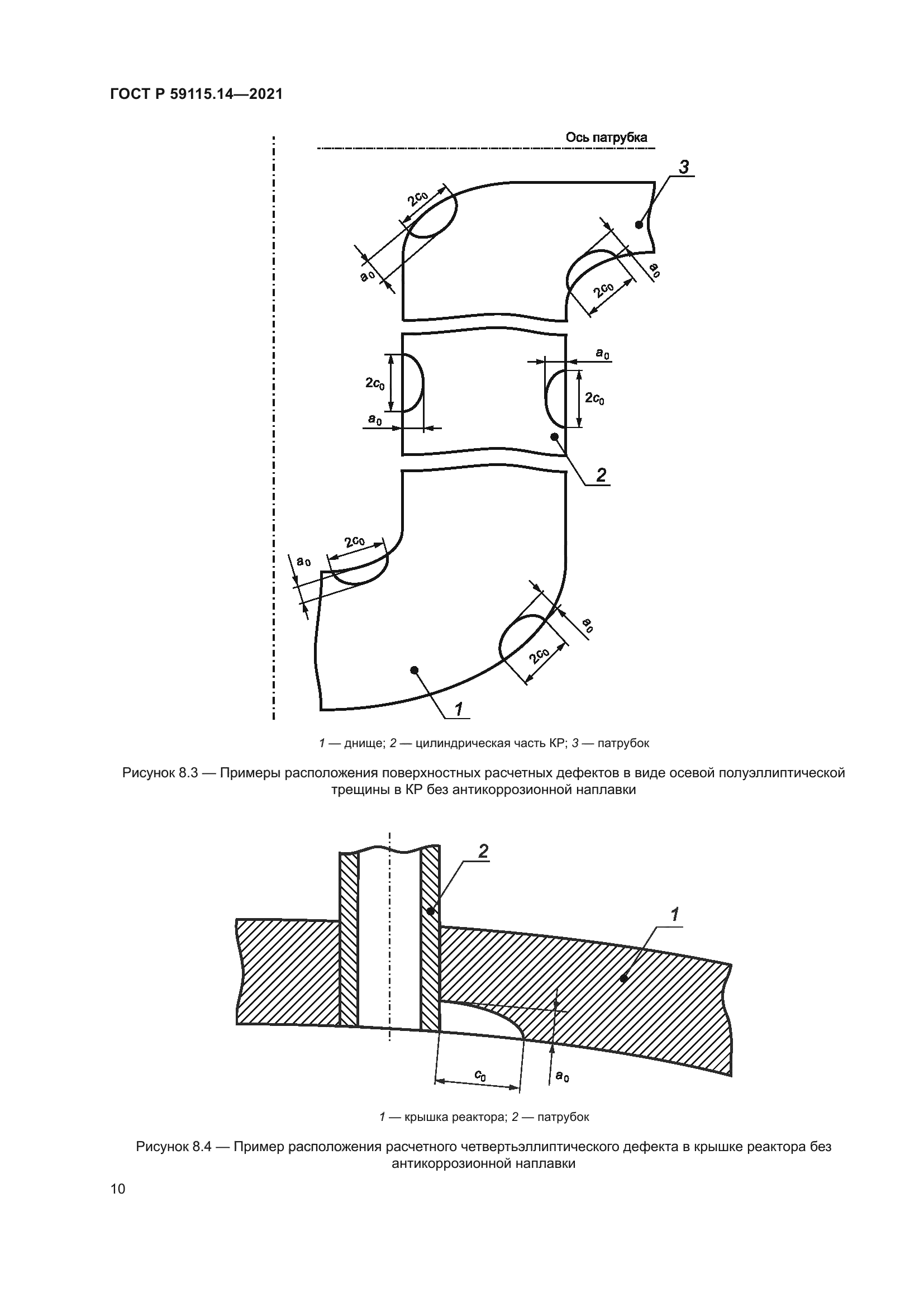
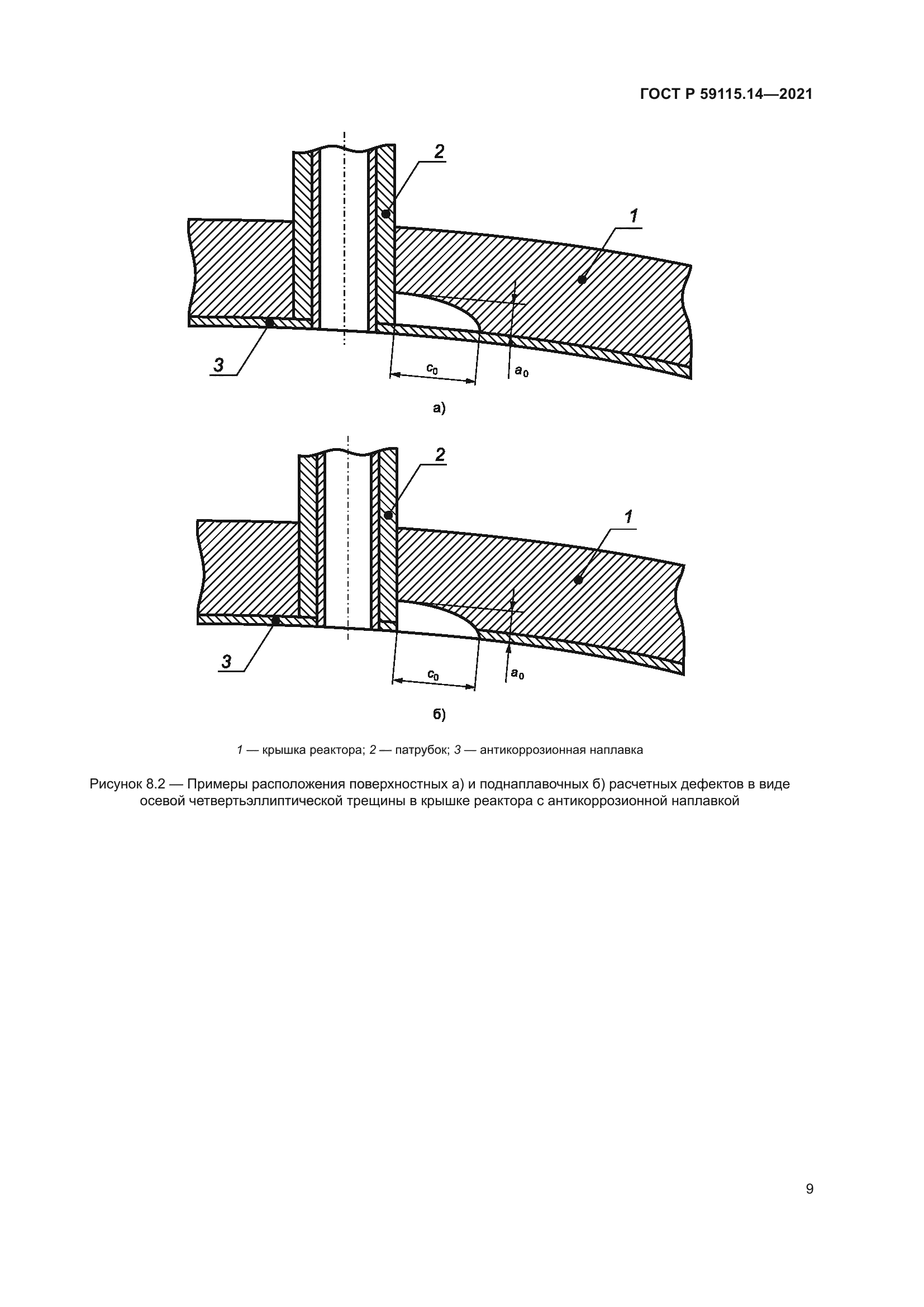
| Область применения: | Настоящий стандарт устанавливает требования к проведению расчета на сопротивление хрупкому разрушению корпусов водо-водяных энергетических реакторов, изготовленных из сталей ферритного класса для проектируемых и строящихся атомных энергетических установок, а также корпусов водо-водяных энергетических реакторов, находящихся в эксплуатации (ВВЭР-440, ВВЭР-1000, ВВЭР-1200 и ВВЭР-ТОИ), в том числе прошедших отжиг |
|
| Расположен в: |
|