| ||||||||||||||||||||||||||||
Скачать ГОСТ Р 56817-2015 Стены наружные ненесущие каркасного типа со светопропускающим заполнением проемов. Методы испытаний на огнестойкость и пожарную опасностьДата актуализации: 01.06.2025
| ||||||||||||||||||||||||||||
| Обозначение: | ![]() ГОСТ Р 56817-2015 |
| Статус: | действующий |
| Название рус.: | Стены наружные ненесущие каркасного типа со светопропускающим заполнением проемов. Методы испытаний на огнестойкость и пожарную опасность |
| Дата актуализации текста: | 26.02.2016 |
| Дата актуализации описания: | 01.07.2023 |
| Дата издания: | 08.02.2016 |
| Дата введения: | 01.07.2016 |
| Код ОКП: | 483611 |
| Нормативные ссылки: | ГОСТ 12.1.004-91; ГОСТ 12.1.005-88; ГОСТ 12.1.019-79; ГОСТ 12.1.033-81; ГОСТ 6616-97; ГОСТ 10923-93; ГОСТ 30244-94; ГОСТ 30247.0-94; ГОСТ 30247.1-94; ГОСТ 30403-2012; ГОСТ 31251-2008; ГОСТ Р 53293-2009; ГОСТ Р 53308-2009; ГОСТ Р 51136-2008 |
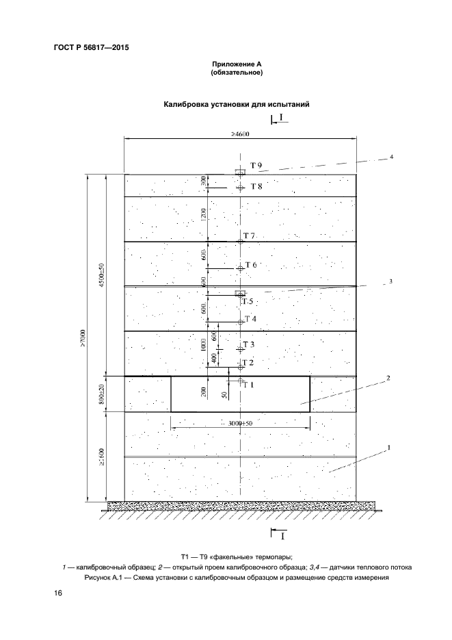
| Область применения: | Настоящий стандарт устанавливает методы испытаний на огнестойкость и пожарную опасность с внешней стороны наружных ненесущих стен каркасного типа с непожаростойким светопропускающим заполнением проемов |
| Расположен в: | |



























