Информационная система
«Ёшкин Кот»

Скачать базу одним архивом
Скачать обновления
История создания базы
Карта сайта

Скачать ГОСТ Р 55896-2013 Конструкции строительные. Двери для заполнения проемов в ограждениях шахт лифтов. Методы испытаний на огнестойкость

Дата актуализации: 01.06.2025

ГОСТ Р 55896-2013

Конструкции строительные. Двери для заполнения проемов в ограждениях шахт лифтов. Методы испытаний на огнестойкость

Обозначение: ГОСТ Р 55896-2013
Статус:действующий
Название рус.:Конструкции строительные. Двери для заполнения проемов в ограждениях шахт лифтов. Методы испытаний на огнестойкость
Название англ.:Building structures. Doors the enclosures of lift shaft. Fire resistance test method
Дата актуализации текста:01.01.2021
Дата актуализации описания:01.07.2023
Дата издания:20.10.2019
Дата введения:01.09.2014
Код ОКП:483680
Нормативные ссылки:ГОСТ 12.1.019;ГОСТ Р 53780;ГОСТ 12.1.004;ГОСТ 6616;ГОСТ 30247.0;ГОСТ 30247.1;ГОСТ 30247.3
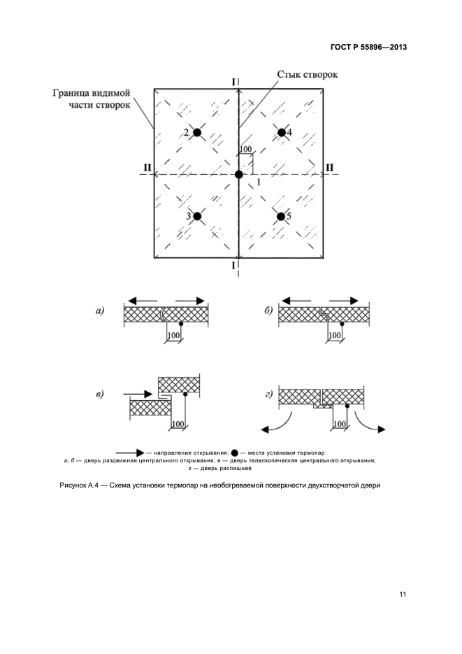
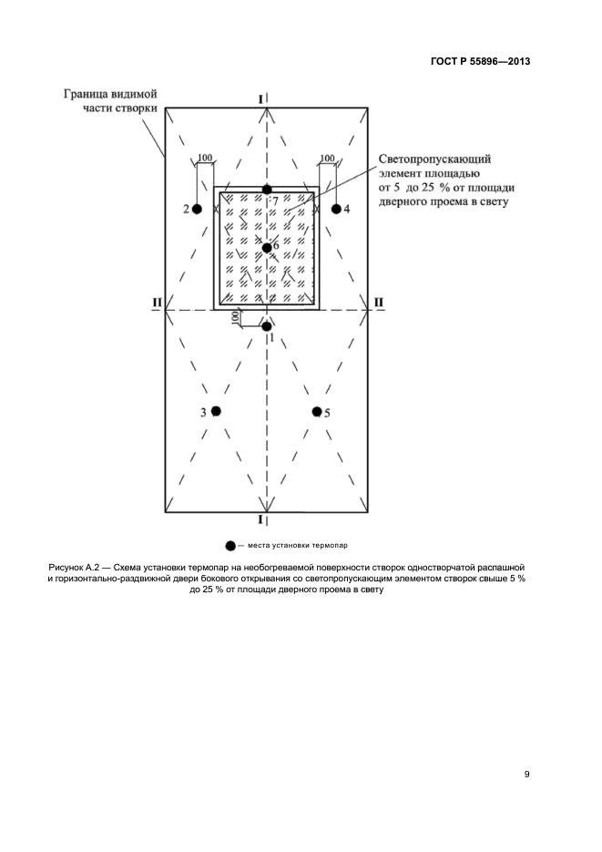
Область применения:Настоящий стандарт устанавливает метод испытаний на огнестойкость дверей и люков, в соответствии с ГОСТ Р 53780 заполняющими проемы в ограждениях шахт лифтов (далее дверей) и по ФЗ №123 имеющими противопожарное исполнение. Двери закрывают проемы для: - входа и выхода пассажиров и/или загрузки и разгрузки кабины (далее - двери шахт лифтов); - технического обслуживания оборудования; - аварийных действий; - входа в приямок; - смотровых проемов. Требования настоящего стандарта распространяются на двери с теплоизолирующей способностью и без нее: - распашные; - горизонтально-раздвижные бокового открывания и телескопические; - горизонтально-раздвижные центрального открывания; - вертикально-раздвижные центрального и одностороннего открывания. Створки указанных дверей могут содержать светопропускающие элементы, площадь которых от площади проема в свету (далее проема): - до 5 %; - свыше 5 до 25 %; - свыше 25 %. Настоящий стандарт распространяется на проведение испытаний на огнестойкость дверей шахт лифтов, содержащих светопропускающие элементы (остекление), площадь которых от площади проеме в свету свыше 25% до 100%.На двери шахт лифтов, включая двери, содержащие светопропускающие элементы (остекление), площадь которых от площади проеме в свету до 5% и свыше 5% до 25%, следует использовать метод испытания на огнестойкость по ГОСТ 30247.3. Стандарт может быть использован для оценки соответствия продукции требованиям пожарной безопасности
Расположен в:Государственные стандарты Общероссийский классификатор стандартов Охрана окружающей среды, защита человека от воздействия окружающей среды. Безопасность Защита от пожаров Огнестойкость строительных материалов и элементов Строительные материалы и строительство Установки в зданиях Лифты. Эскалаторы Классификатор государственных стандартов Строительство и стройматериалы Строительные конструкции и детали Методы испытаний. Упаковка. Маркировка Окп Продукция строительного, дорожного и коммунального машиностроения Оборудование и машины строительные Лифты Устройства безопасности лифта и оборудование лифтовое разного назначения
ГОСТ Р 55896-2013ГОСТ Р 55896-2013ГОСТ Р 55896-2013ГОСТ Р 55896-2013ГОСТ Р 55896-2013ГОСТ Р 55896-2013ГОСТ Р 55896-2013ГОСТ Р 55896-2013ГОСТ Р 55896-2013ГОСТ Р 55896-2013ГОСТ Р 55896-2013ГОСТ Р 55896-2013ГОСТ Р 55896-2013ГОСТ Р 55896-2013ГОСТ Р 55896-2013ГОСТ Р 55896-2013

© 2013 Ёшкин Кот :-) Карта сайта