| ||||||||||||||||||||||||||||||||||||
Скачать ГОСТ Р 55186-2012 Ригели жестких поперечин для контактной сети железнодорожного транспорта. Общие технические условияДата актуализации: 01.06.2025
| ||||||||||||||||||||||||||||||||||||
| Обозначение: | ![]() ГОСТ Р 55186-2012 |
| Статус: | отменён |
| Название рус.: | Ригели жестких поперечин для контактной сети железнодорожного транспорта. Общие технические условия |
| Название англ.: | Cross beams of rigid portals for overhead contact line of railway transport. General specifications |
| Дата актуализации текста: | 06.04.2015 |
| Дата актуализации описания: | 01.07.2023 |
| Дата издания: | 13.06.2013 |
| Дата введения: | 01.09.2013 |
| Дата окончания срока действия: | 01.04.2017 |
| Код ОКП: | 526432 |
| На территории РФ пользоваться: | ГОСТ 33797-2016 |
| Нормативные ссылки: | ГОСТ Р 8.568-97; ГОСТ Р 51163-98; ГОСТ Р 9.316-2006; ГОСТ Р 51254-99; ГОСТ Р 53685-2009; ГОСТ 9.301-86; ГОСТ 9.307-89; ГОСТ 166-89; ГОСТ 380-2005; ГОСТ 535-2005; ГОСТ 2246-70; ГОСТ 2590-2006; ГОСТ 3242-79; ГОСТ 7512-82; ГОСТ 9378-93; ГОСТ 9467-75; ГОСТ 12393-77; ГОСТ 13837-79; ГОСТ 14771-76; ГОСТ 14782-86; ГОСТ 15150-69; ГОСТ 18321-73; ГОСТ 19281-89; ГОСТ 21650-76; ГОСТ 23118-99; ГОСТ 25726-83; ГОСТ 26433.0-85; ГОСТ 26433.1-89; ГОСТ 27772-88 |
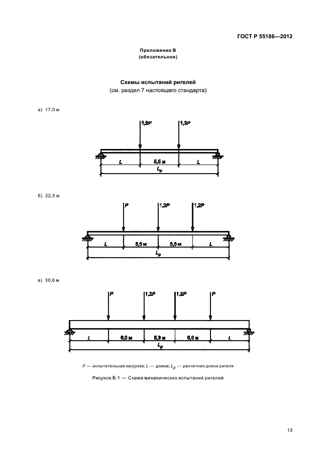
| Область применения: | Настоящий стандарт распространяется на ригели жестких поперечин для контактной сети железнодорожного транспорта (далее - ригели) и устанавливает общие технические условия |
| Список изменений: | №0 от 31.03.2017 (рег. 03.07.2016) «Текстовое изменение; Изменено заглавие» |
| Расположен в: | |























