| Обозначение: |  ГОСТ Р 34.90-93 |
| Статус: | действующий |
| Название рус.: | Информационная технология. Передача данных и обмен информацией между системами. Протокольные комбинации для обеспечения и поддержки услуг сетевого уровня ВОС |
| Название англ.: | Information technology. Telecommunications and information exchange between systems. Protocol combinations to provide and support the OSI Network Service |
| Дата актуализации текста: | 06.04.2015 |
| Дата актуализации описания: | 01.07.2023 |
| Дата издания: | 01.04.1994 |
| Дата введения: | 01.01.1995 |
| Код ОКП: | 400000;501530 |
| Нормативные ссылки: | ISO/IEC 8880:1990;ISO 8648:1988;ISO 8881:1989; ГОСТ 28906-91; ГОСТ 28080-89; ГОСТ 28079-89; ГОСТ Р 34.950-92; ГОСТ Р 34.951-92; ГОСТ Р 34.1952-92; ГОСТ 29099-91; ГОСТ 28907-91; ГОСТ 34.954-91; ГОСТ Р ИСО 8348/Доп. 2-93;Рекомендация X.21 CCITT;Рекомендация X.21 bis CCITT |
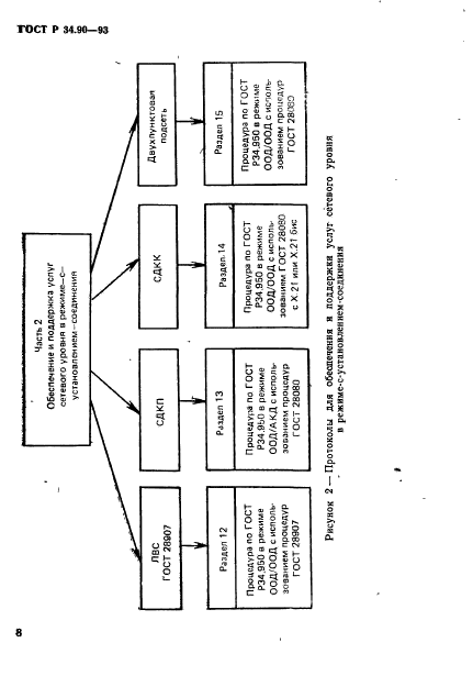
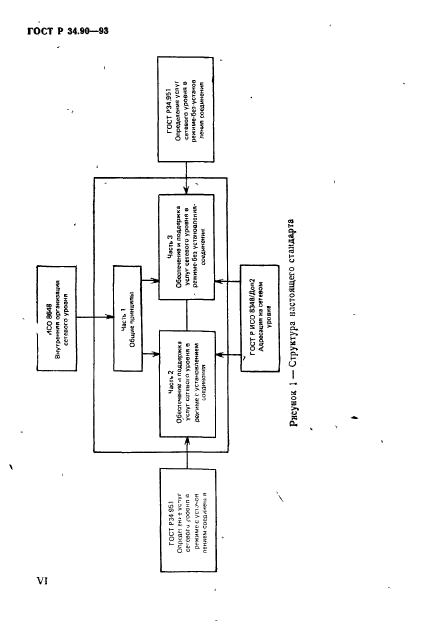
| Область применения: | Задача настоящего стандарта состоит в том, чтобы обеспечить единый справочный источник информации относительно способов возможного использования протоколов сетевого уровня для обеспечения услуг сетевого уровня ВОС в различных конфигурациях. В настоящем стандарте излагается применение архитектуры сетевого уровня, изложенной в ИСО 8648, а также стандартизованных в международном и национальном масштабах протоколов сетевого уровня для обеспечения услуг сетевого уровня в реальных применениях. В 1-й части стандарта определяются способ обеспечения и поддержки услуг сетевого уровня, критерии для включения протокольных комбинаций, излагается формулировка принципов соответствия, которые упорядочивают конкретные требования к соответствию, определенные в двух других частях. Во 2-й части описывается обеспечение и поддержка услуг сетевого уровня в режиме-с-установлением-соединения протоколами сетевого уровня. В 3-й части описывается обеспечение и поддержка услуг сетевого уровня в режиме-без-установления-соединения.В тех случаях, когда какая-либо конфигурация не поддерживает услуг сетевого уровня ВОС соответствующего режима, она не входит в область распространения настоящего стандарта |
|
| Расположен в: |
|