| Обозначение: |  ГОСТ Р 50267.25-94 |
| Статус: | действующий |
| Название рус.: | Изделия медицинские электрические. Часть 2. Частные требования безопасности к электрокардиографам |
| Название англ.: | Medical electrical equipment. Part 2. Particular requirements for safety of electrocardiographs |
| Дата актуализации текста: | 06.04.2015 |
| Дата актуализации описания: | 01.07.2023 |
| Дата издания: | 08.06.1994 |
| Дата введения: | 01.07.1995 |
| Код ОКП: | 944410 |
| Содержит требования: | IEC 60601-2-25(1993) |
| Нормативные ссылки: | IEC 60664(1980);IEC 417G-85; ГОСТ Р 50267.0-92 |
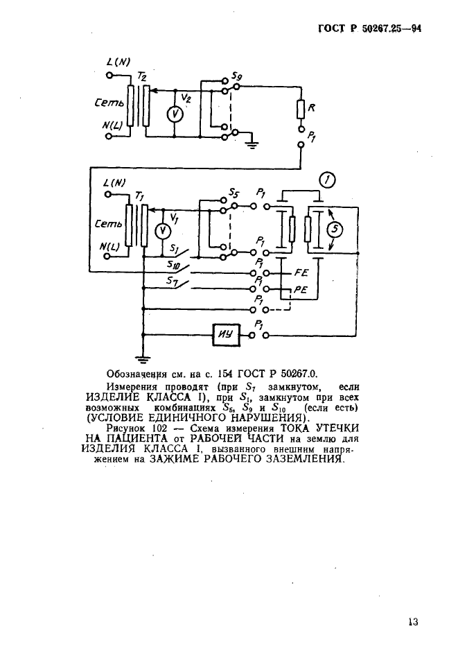
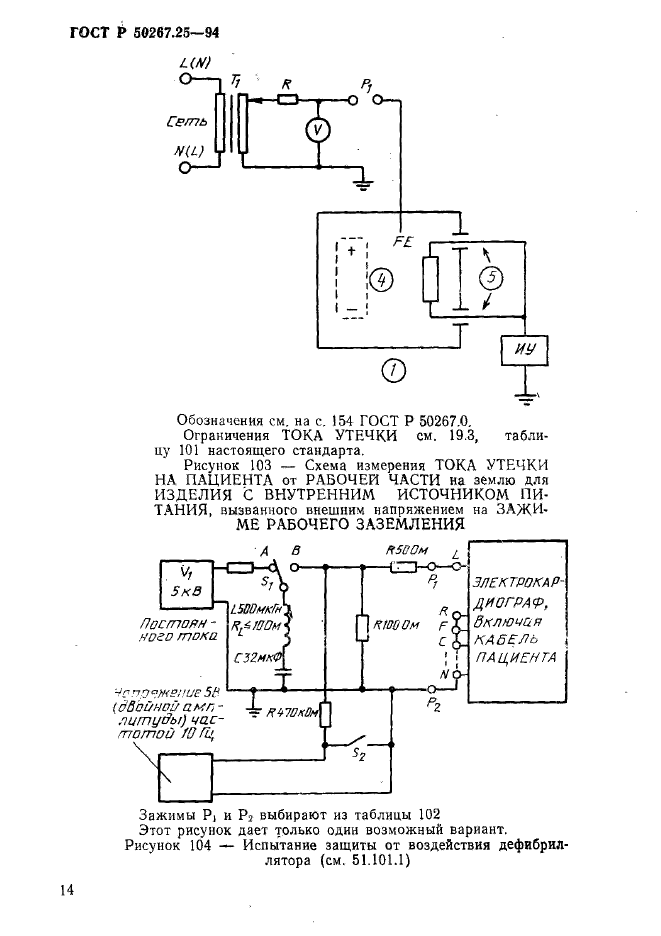
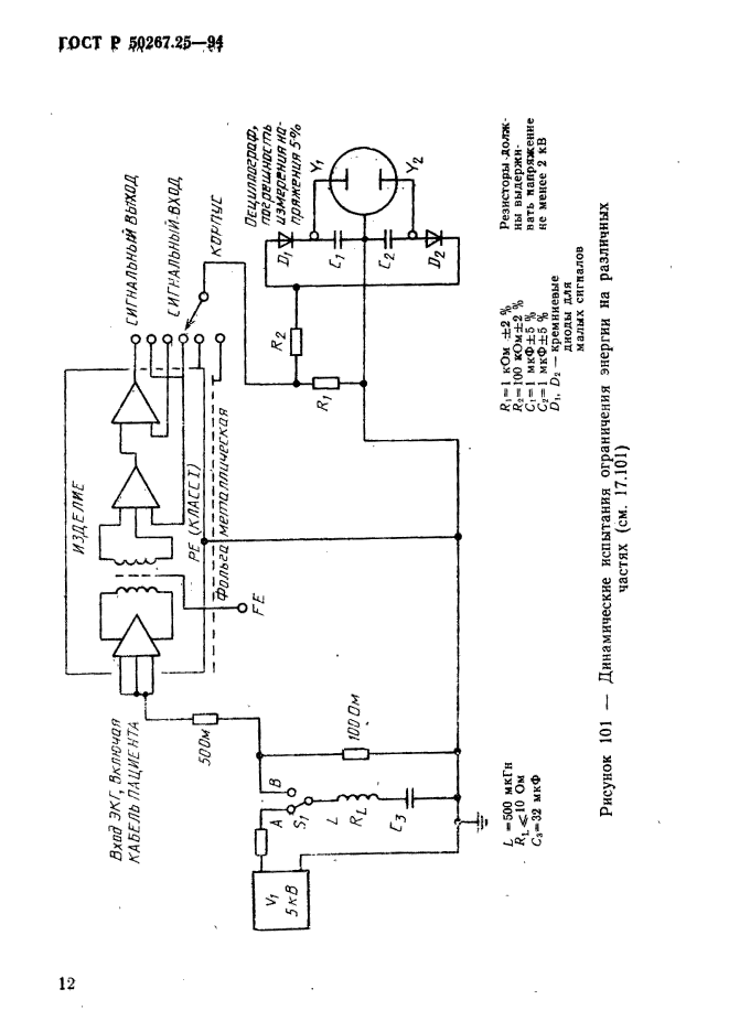
| Область применения: | Настоящий стандарт распространяется на безопасность МЕДИЦИНСКИХ ЭЛЕКТРИЧЕСКИХ ИЗДЕЛИЙ. Так как настоящий стандарт относится в основном к безопасности, он содержит некоторые требования, касающиеся надежной работы, если это связано с безопасностью. Настоящий стандарт устанавливает частные требования безопасности к ЭЛЕКТРОКАРДИОГРАФАМ, предназначенным для снятия ЭЛЕКТРОКАРДИОГРАММ в диагностических целях. Он распространяется также на вектор-кардиографы и АППАРАТЫ, с помощью которых проводят исследования при стрессовых состояниях |
|
| Расположен в: |
|