| ||||||||||||||||||||||||||||||||
Скачать ГОСТ 4230-93 Ножи садовые. Технические условияДата актуализации: 01.06.2025
| ||||||||||||||||||||||||||||||||
| Обозначение: | ![]() ГОСТ 4230-93 |
| Статус: | действующий |
| Название рус.: | Ножи садовые. Технические условия |
| Название англ.: | Garden knives. Specifications |
| Дата актуализации текста: | 06.04.2015 |
| Дата актуализации описания: | 01.01.2021 |
| Дата регистрации: | 21.10.1993 |
| Дата издания: | 13.06.1995 |
| Дата введения: | 01.01.1995 |
| Код ОКП: | 473771 |
| Взамен: | ГОСТ 4230-79 |
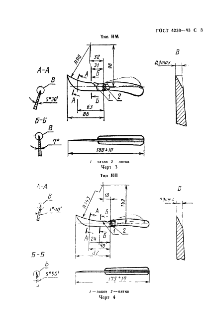
| Область применения: | Настоящий стандарт распространяется на содовые ножи, предназначенные для формирования и обрехки кроны деревьев в садах и питомниках |
| Расположен в: | |











