| Обозначение: |  ГОСТ Р 50643-94 |
| Статус: | действующий |
| Название рус.: | Соединение разъемное для антиблокировочной системы тормозов. Основные размеры. Технические требования. Методы испытаний. Указания по установке на транспортных средствах |
| Название англ.: | Brake anti-lock device connection. Main dimensions. Technical requirements and test. Arrangement of the connection on the vehicles |
| Дата актуализации текста: | 06.04.2015 |
| Дата актуализации описания: | 01.07.2023 |
| Дата издания: | 11.04.1994 |
| Дата введения: | 01.01.1995 |
| Код ОКП: | 451400 |
| Нормативные ссылки: | ISO 7638:1985; ГОСТ 3940-84; ГОСТ 14254-80 |
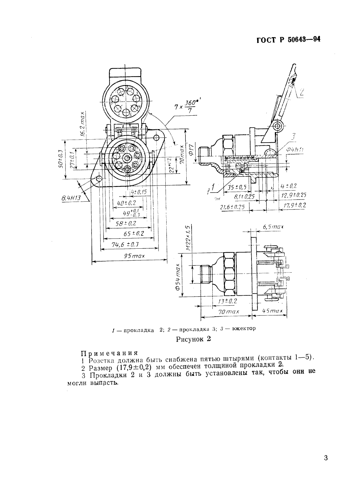
| Область применения: | Настоящий стандарт распространяется на разъемные соединения, предназначенные для соединения электрических цепей антиблокировочной системы тормозов тягачей с электрическими цепями антиблокировочной системы тормозов буксируемых ими прицепов. В стандарте изложены обязательные требования к разъемным соединениям антиблокировочной системы тормозов, обеспечивающие их безопасность для жизни, здоровья и имущества населения, охраны окружающей среды |
|
| Расположен в: |
|