| Обозначение: |  ГОСТ Р 50668-94 |
| Статус: | действующий |
| Название рус.: | Цепи стыка С2 системы передачи данных. Требования к временным характеристикам сигналов при стартcтопной и синхронной передаче |
| Название англ.: | Circuits of the interface C2 of the data transmission system. Requirements by temporary characteristics of signals by start-stop and synchronous transmissions |
| Дата актуализации текста: | 06.04.2015 |
| Дата актуализации описания: | 01.07.2023 |
| Дата издания: | 05.08.1994 |
| Дата введения: | 01.07.1995 |
| Код ОКП: | 665600 |
| Нормативные ссылки: | ISO 7480:1991;ISO 9543:1989; ГОСТ 18145-81; ГОСТ 23675-79 |
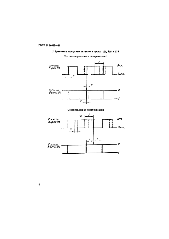
| Область применения: | Настоящий стандарт распространяется на цепи передачи данных и синхронизации стыка С2 между оконечным оборудованием данных (ООД) и аппаратурой передачи данных (АПД) по ГОСТ 18145 и ГОСТ 23675. Стандарт устанавливает требования к временным характеристикам сигналов, определяющим качество синхронизации при стартстопной и синхронной передаче |
|
| Расположен в: |
|