| Обозначение: |    ГОСТ 7872-2025 | 
| Статус: | действующий | 
| Название рус.: | Подшипники качения. Подшипники шариковые упорные одинарные и двойные. Классификация, указания по применению и эксплуатации | 
| Название англ.: | Rolling bearings. Single and double direction thrust ball bearings. Classification, guidance for application and exploitation | 
| Дата актуализации текста: | 01.06.2025 | 
| Дата актуализации описания: | 01.06.2025 | 
| Дата регистрации: | 31.01.2025 | 
| Дата издания: | 03.03.2025 | 
| Дата введения: | 01.05.2025 | 
| Взамен в части: |  ГОСТ 7872-89 кроме части по оборонной продукции на территории РФ | 
| Нормативные ссылки: |  ГОСТ 520; ГОСТ 3189; ГОСТ 3325; ГОСТ 3478-2012; ГОСТ 24955; ГОСТ 25256 | 
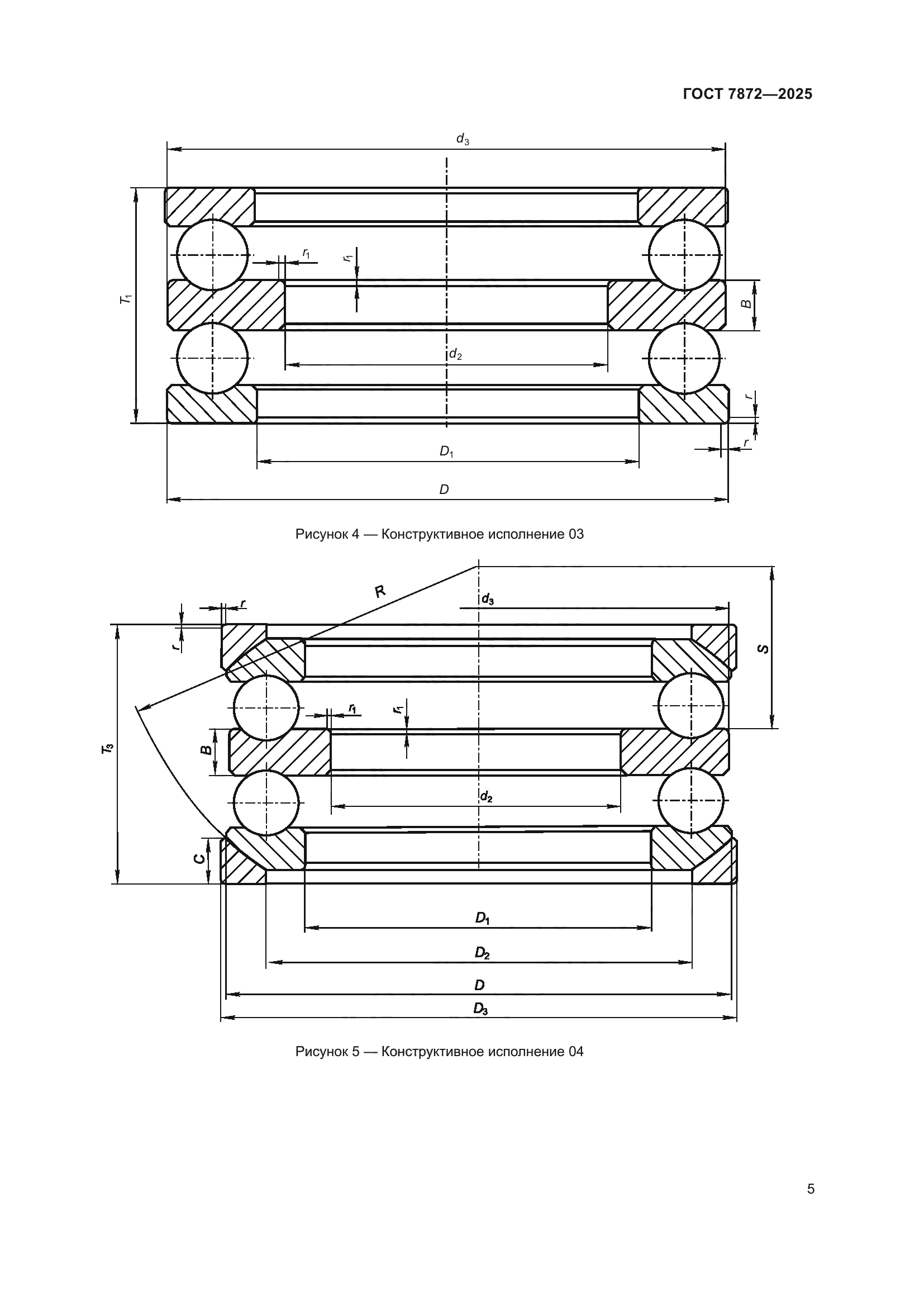
| Область применения: | Настоящий стандарт распространяется на шариковые упорные одинарные и двойные подшипники (далее – подшипники), изготовленные по ГОСТ 520, и устанавливает их классификацию по конструктивным исполнениям, присоединительным размерам, указания по применению и эксплуатации | 
 | 
| Расположен в: | 
  |