| Обозначение: |  ГОСТ Р 71905-2024 |
| Статус: | действующий |
| Название рус.: | Диэлектрики неорганические. Метод определения электрической прочности |
| Название англ.: | Inorganic dielectrics. Method of determining electrical resistance |
| Дата актуализации текста: | 01.06.2025 |
| Дата актуализации описания: | 01.06.2025 |
| Дата издания: | 10.01.2025 |
| Дата введения: | 01.03.2024 |
| Нормативные ссылки: | ГОСТ 859; ГОСТ 982; ГОСТ 1571; ГОСТ 2789; ГОСТ 5775; ГОСТ 6433.1; ГОСТ 6507; ГОСТ 8711; ГОСТ 10354; ГОСТ 15527; ГОСТ 25706; ГОСТ 29298; ГОСТ Р 51999 |
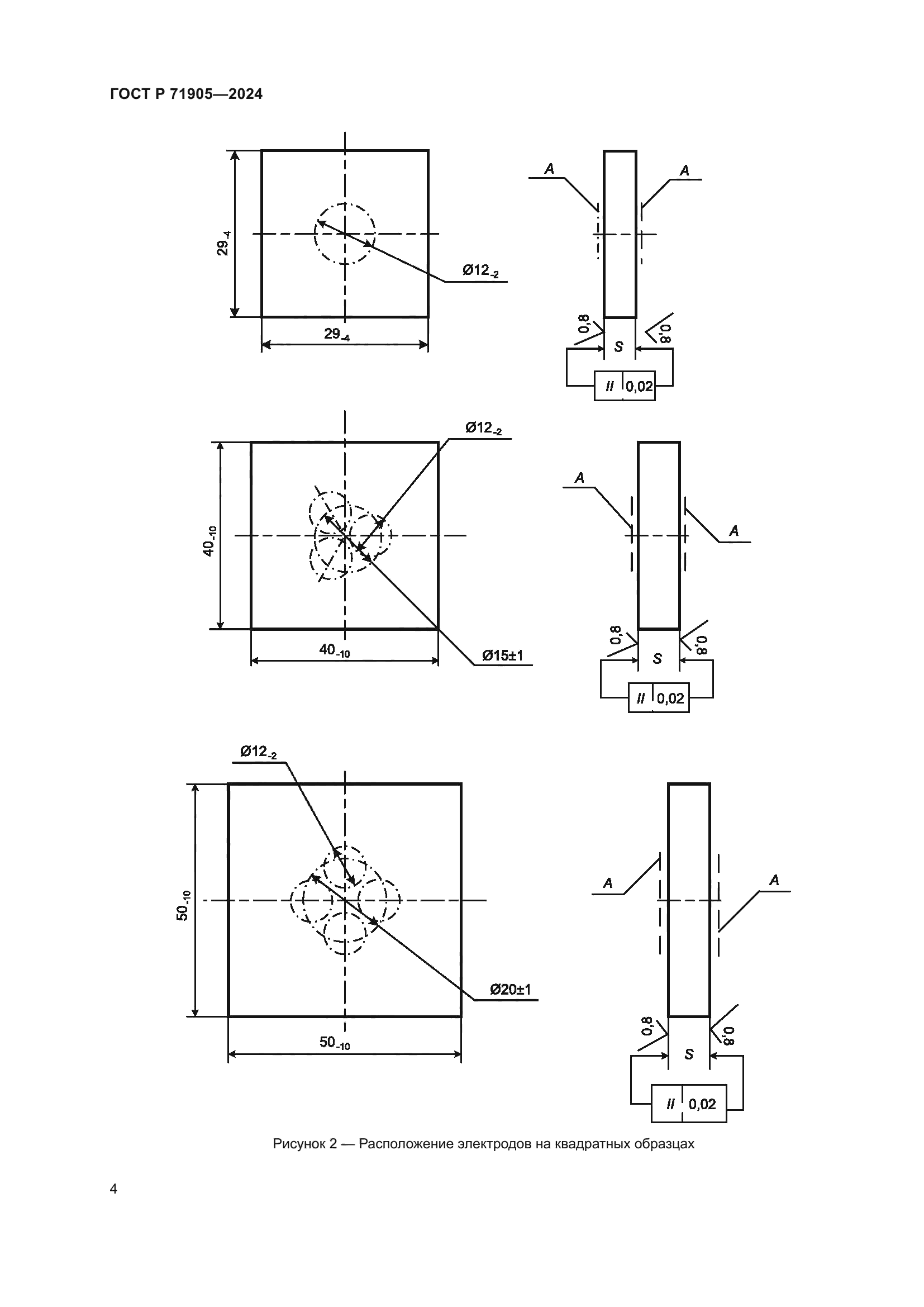
| Область применения: | Настоящий стандарт распространяется на неорганические диэлектрики: стекла, ситаллы, фотоситаллы, стеклокристаллические цементы и керамические материалы, применяемые в изделиях электронной техники, и устанавливает метод определения электрической прочности Епр |
|
| Расположен в: |
|