| Обозначение: |    ГОСТ 9592-2024 | 
| Статус: | действующий | 
| Название рус.: | Подшипники качения. Подшипники шариковые радиальные с широким внутренним кольцом. Общие технические требования | 
| Название англ.: | Rolling bearings. Radial ball bearings with wide inner ring. General technical requirements | 
| Дата актуализации текста: | 01.06.2025 | 
| Дата актуализации описания: | 01.06.2025 | 
| Дата издания: | 12.12.2024 | 
| Дата введения: | 01.02.2025 | 
| Взамен: |  ГОСТ 9592-75 | 
| Нормативные ссылки: |  ГОСТ 520; ГОСТ 3189; ГОСТ 3325; ГОСТ 3478; ГОСТ 24955; ГОСТ 25256 | 
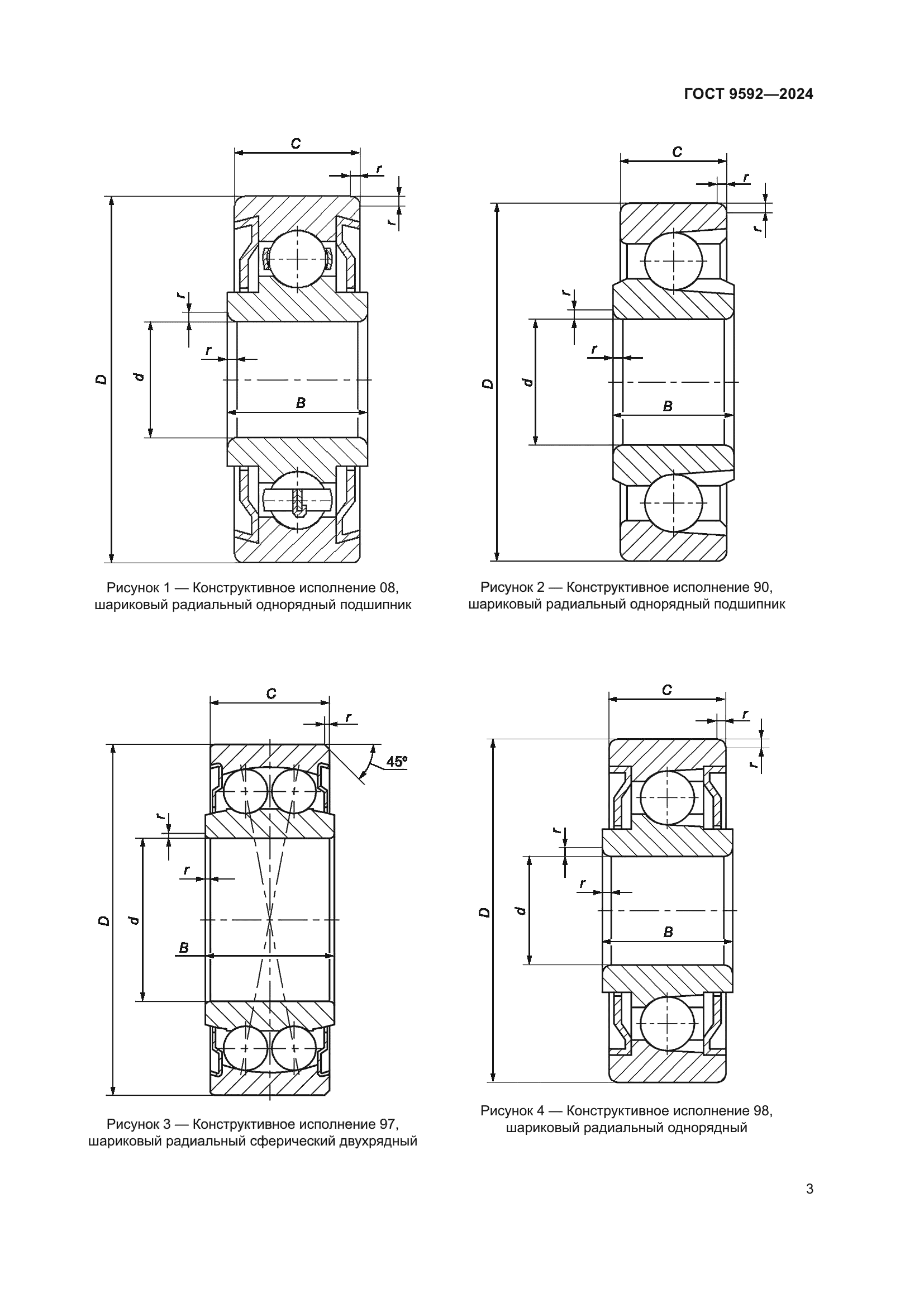
| Область применения: | Настоящий стандарт распространяется на шариковые радиальные подшипники с широким внутренним кольцом, изготавливаемые по ГОСТ 520, и устанавливает их классификацию по конструктивным исполнениям и присоединительным размерам, указания по применению и эксплуатации, а также дополнительные технические требования к данной группе однородной продукции | 
 | 
| Расположен в: | 
  |