| Обозначение: |  ГОСТ Р 71587-2024 |
| Статус: | принят |
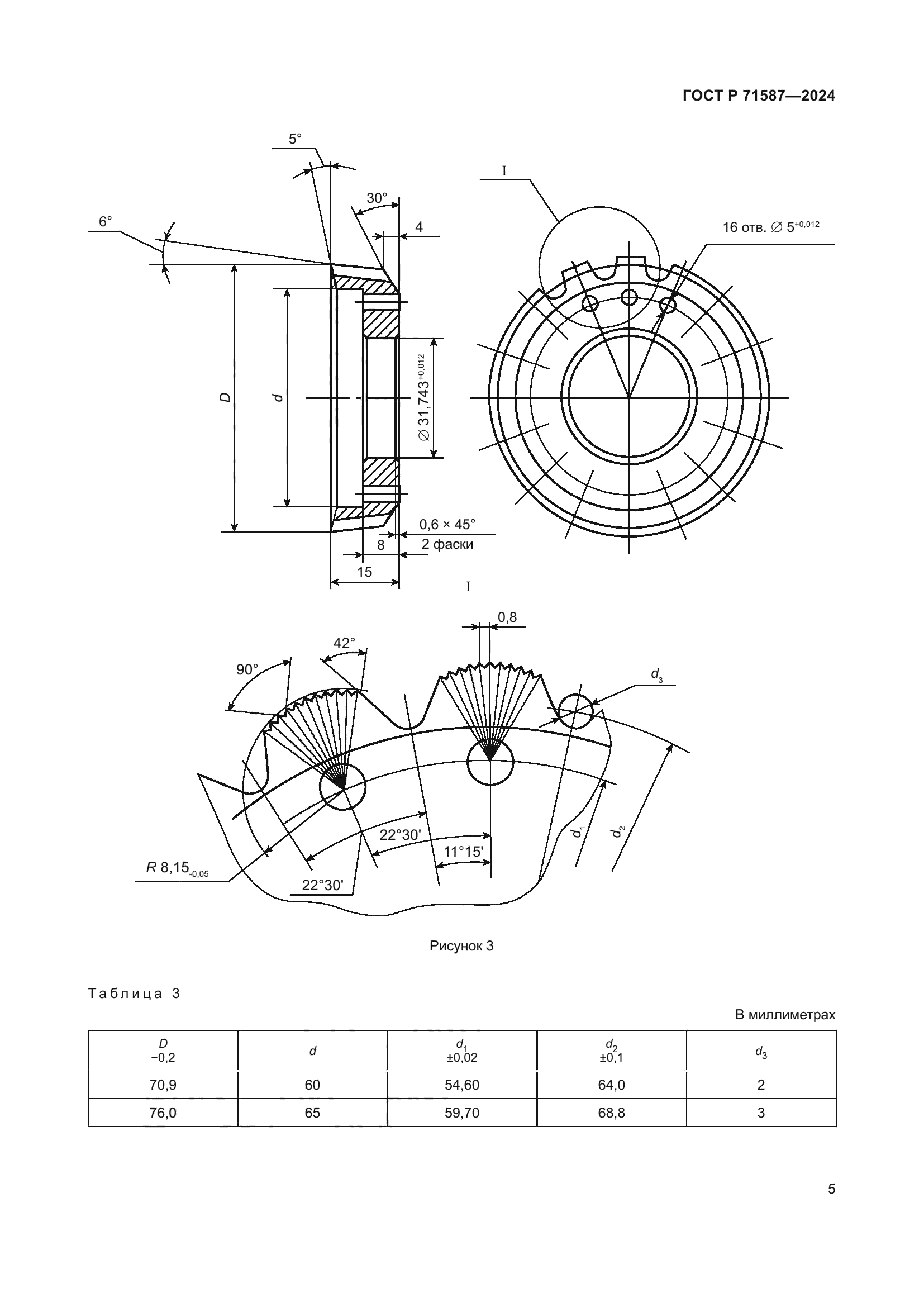
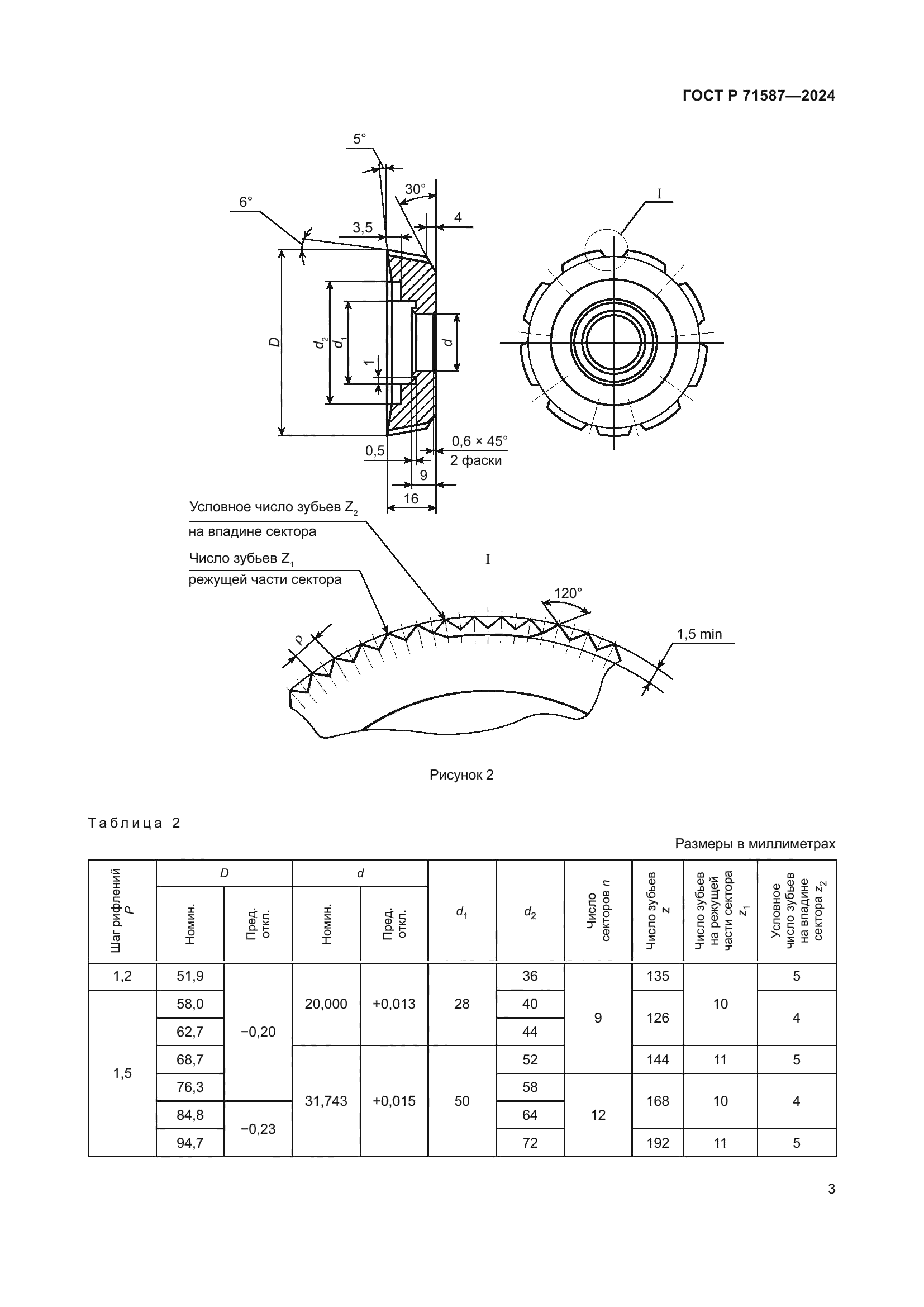
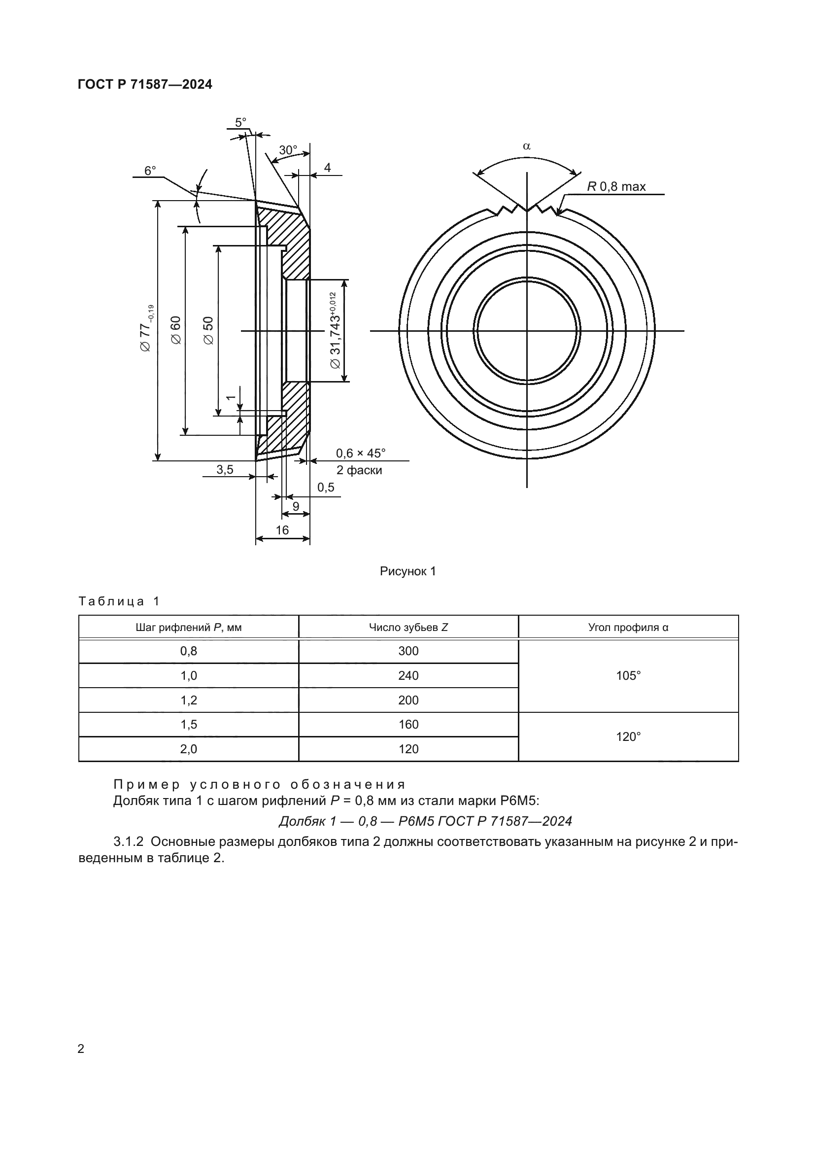
| Название рус.: | Долбяки дисковые прямозубые для нарезания декоративных рифлений. Основные размеры |
| Название англ.: | Straight-toothed cutters for cutting decorative corrugations. Basic dimensions |
| Дата актуализации текста: | 01.12.2024 |
| Дата актуализации описания: | 01.12.2024 |
| Дата издания: | 11.11.2024 |
| Дата введения: | 01.07.2025 |
| Нормативные ссылки: | ГОСТ 2789; ГОСТ 19265 |
| Область применения: | Настоящий стандарт распространяется на дисковые прямозубые долбяки для нарезания декоративных рифлений на наружные цилиндрические поверхности изделий оптического приборостроения |
|
| Расположен в: |
|