| Обозначение: |    ГОСТ EН 50085-1-2008 | 
| Статус: | принят | 
| Название рус.: | Системы электропроводные канальные для электроустановок. Часть 1. Общие требования | 
| Название англ.: | Cable trunking systems and cable ducting systems for electrical installations. Part 1. General requirements | 
| Дата актуализации текста: | 01.06.2024 | 
| Дата актуализации описания: | 01.06.2024 | 
| Дата регистрации: | 06.06.2008 | 
| Дата издания: | 27.04.2024 | 
| Дата введения: | 01.07.2025 | 
| Аутентичен стандартам: | EN 50085-1:2005 | 
| Нормативные ссылки: | IEC 60050-826(2004);IEC 60417;EN 22768-1:1993;EN 50085-2;EN 60423:1994;EN 60529:1991 ;EN 60695-2-4-1:1993;EN 60695-2-11:2001;EN 61032:1998;ЕN 62262:2002;HD 383 S2:1986;HD 384.1 S1:1979;HD 384.5.51 S1:1985;HD 384.5.54 S1:1988 | 
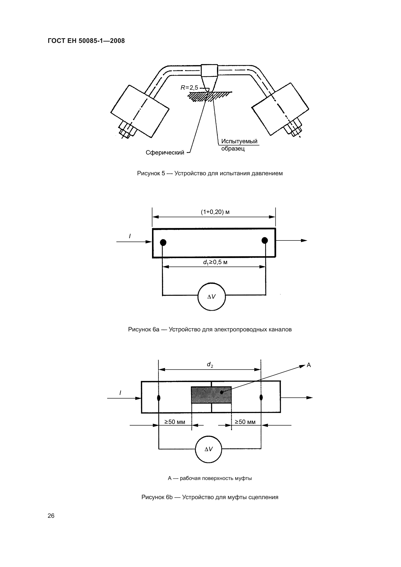
| Область применения: | Настоящий стандарт устанавливает требования и методы испытаний к электропроводным канальным системам для крепления, разъединения и соединения изолированных проводников, коммуникационных кабелей, электропроводки и другого электрического оборудования в электроустановках и/или системах связи с максимальным напряжением до 1000 В переменного тока и/или 1500 В постоянного тока | 
 | 
| Расположен в: | 
  |