| ||||||||||||||||||||||||||||||||||||
Скачать ГОСТ 35011-2023 Газ природный сжиженный. Руководство по отбору пробДата актуализации: 01.06.2025
| ||||||||||||||||||||||||||||||||||||
| Обозначение: | ![]() ГОСТ 35011-2023 |
| Статус: | действующий |
| Название рус.: | Газ природный сжиженный. Руководство по отбору проб |
| Название англ.: | Liquefied natural gas. Sampling guidelines |
| Дата актуализации текста: | 01.06.2024 |
| Дата актуализации описания: | 01.01.2025 |
| Дата регистрации: | 25.09.2023 |
| Дата издания: | 15.11.2023 |
| Дата введения: | 01.01.2025 |
| Нормативные ссылки: | ГОСТ 12.1.005; ГОСТ 12.1.007; ГОСТ 12.1.044; ГОСТ 17.2.3.02; ГОСТ Р 58577-2019; ГОСТ 5632; ГОСТ 9293; ГОСТ 10007; ГОСТ 10157; ГОСТ 14254; ГОСТ 15150; ГОСТ 19433; ГОСТ 31369; ГОСТ 31370; ГОСТ 31371.7; ГОСТ 31610.20-1; ГОСТ 34895 |
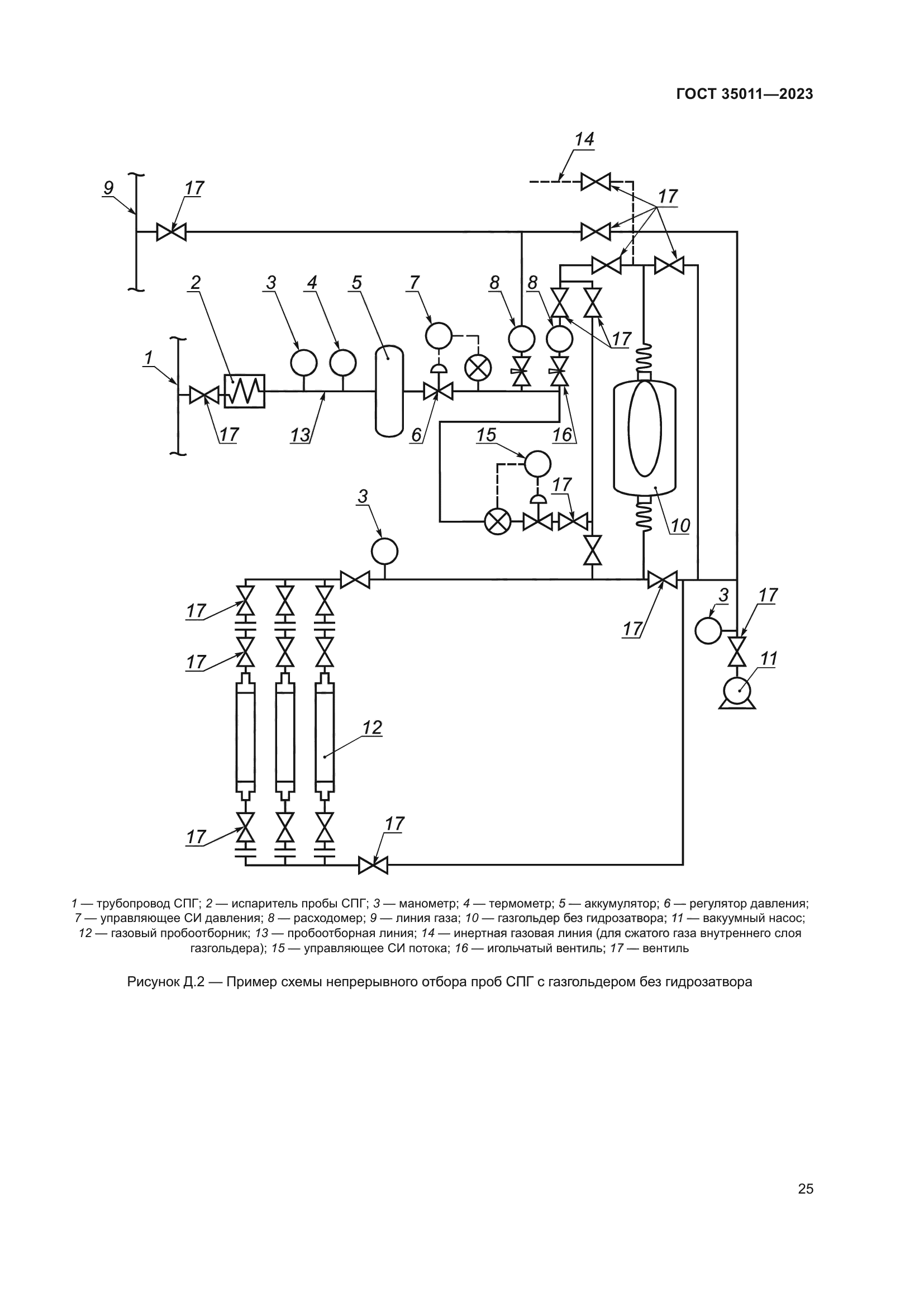
| Область применения: | Настоящий стандарт распространяется на сжиженный природный газ (СПГ), поступающий с установок сжижения, а также поставляемый для дальнейшего хранения, транспортирования и использования. Настоящий стандарт устанавливает требования к процедурам, оборудованию и материалам для отбора проб СПГ, обеспечивающие представительность отобранных проб количеству СПГ, на которое они распространяются |
| Приложение №1: | Поправка к ГОСТ 35011-2023 |
| Расположен в: | |









































| Обозначение: | Поправка к ГОСТ 35011-2023 |
| Дата введения: | 15.04.2024 |
