Информационная система
«Ёшкин Кот»

Скачать базу одним архивом
Скачать обновления
История создания базы
Карта сайта

Скачать ГОСТ Р 52927-2023 Прокат для судостроения из стали нормальной, повышенной и высокой прочности. Технические условия

Дата актуализации: 01.06.2025

ГОСТ Р 52927-2023

Прокат для судостроения из стали нормальной, повышенной и высокой прочности. Технические условия

Обозначение: ГОСТ Р 52927-2023
Статус:действующий
Название рус.:Прокат для судостроения из стали нормальной, повышенной и высокой прочности. Технические условия
Название англ.:Rolled of normal, higher and high strength steel for shipbuilding. Specifications
Дата актуализации текста:01.01.2024
Дата актуализации описания:01.01.2024
Дата издания:28.06.2023
Дата введения:01.12.2023
Взамен:ГОСТ Р 52927-2015
Нормативные ссылки:ГОСТ 25.506;ГОСТ 82-70;ГОСТ 103-2006;ГОСТ 166;ГОСТ 427;ГОСТ 535;ГОСТ 5378;ГОСТ 5640;ГОСТ 7564;ГОСТ 7565;ГОСТ 7566;ГОСТ 8240-77;ГОСТ 8510;ГОСТ 9235-76;ГОСТ 9454;ГОСТ 12344;ГОСТ 12345;ГОСТ 12346;ГОСТ 12347;ГОСТ 12348;ГОСТ 12350;ГОСТ 12351;ГОСТ 12352;ГОСТ 12354;ГОСТ 12355;ГОСТ 12356;ГОСТ 12357;ГОСТ 12358;ГОСТ 12361;ГОСТ 12362;ГОСТ 14019;ГОСТ 14637;ГОСТ 17745;ГОСТ 18895;ГОСТ 19903-2015;ГОСТ 21014;ГОСТ 21937-76;ГОСТ 22536.0;ГОСТ 22536.1;ГОСТ 22536.2;ГОСТ 22536.3;ГОСТ 22536.4;ГОСТ 22536.5;ГОСТ 22536.6;ГОСТ 22536.7;ГОСТ 22536.8;ГОСТ 22536.10;ГОСТ 22536.11;ГОСТ 22536.12;ГОСТ 22727;ГОСТ 26877;ГОСТ 28473;ГОСТ 28870;ГОСТ Р 52381;ГОСТ Р 54153
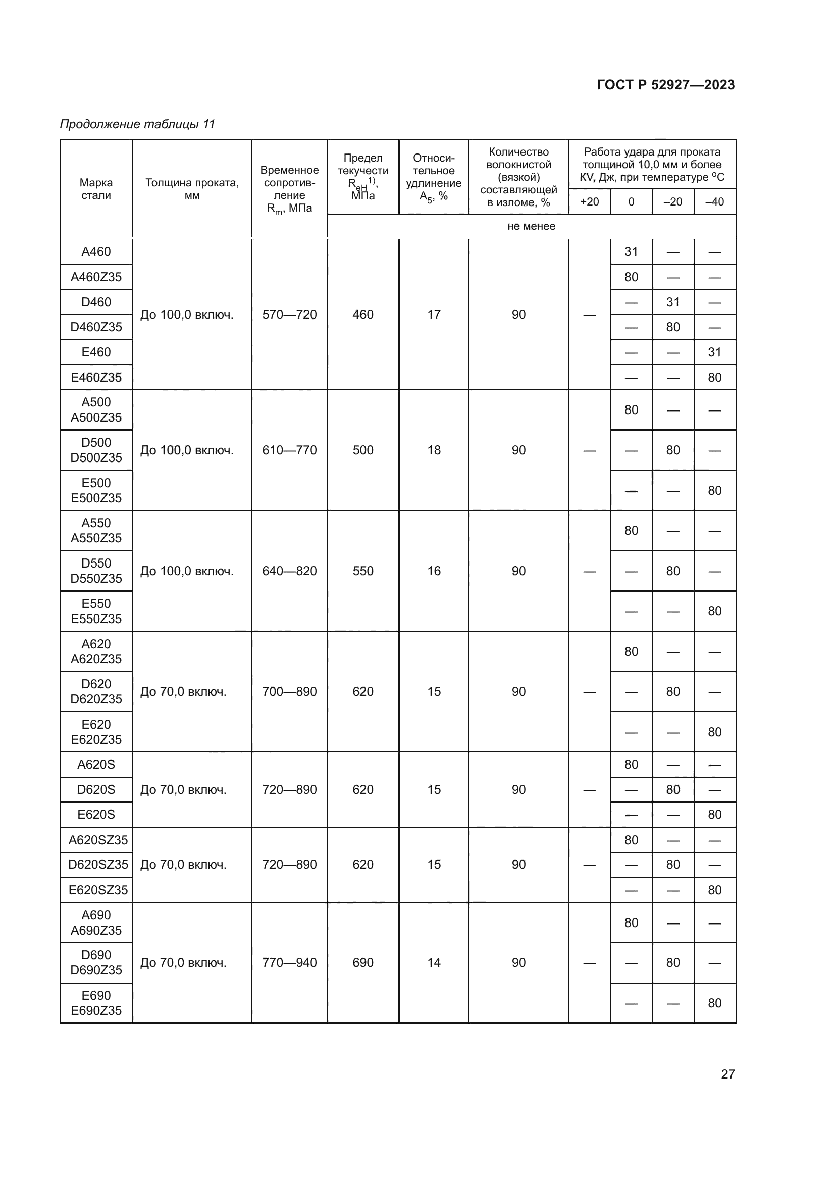
Область применения:Настоящий стандарт распространяется на толстолистовой прокат из судостроительной стали нормальной (с минимальным пределом текучести 235 МПа), повышенной (четырех уровней прочности, с минимальным пределом текучести 265, 315, 355 и 390 МПа, соответственно) и высокой (с минимальным пределом текучести 420 МПа и выше) прочности, включая прокат из хладостойкой стали, и широкополосный универсальный, полосовой и фасонный прокат из стали нормальной и повышенной прочности (далее – прокат), предназначенные для морских и речных судов, ледоколов, судов ледового плавания, нефтегазодобывающих платформ, понтонов, причалов и других сварных конструкций (в том числе работающих при низких температурах). В части норм химического состава стандарт распространяется также на слитки, блюмы, сутунку, кованые, катаные и литые заготовки. Прокат, предназначенный для постройки объектов технического наблюдения Федерального автономного учреждения «Российский морской регистр судоходства» (РМРС), поставляют под техническим наблюдением РМРС или по его поручению. Прокат поставляют предприятия, имеющие Свидетельство РМРС о признании изготовителя проката конкретной марки, толщины и технологии производства, выдаваемое на основании проведения освидетельствования РМРС или по его поручению. Прокат, предназначенный для постройки объектов технического наблюдения Федерального автономного учреждения «Российское Классификационное Общество» (РКО), поставляют под техническим наблюдением РКО или по его поручению. Прокат поставляют предприятия, имеющие Свидетельство РКО о признании изготовителя проката конкретной марки, толщины и технологии производства, выдаваемое на основании проведения освидетельствования РКО или по его поручению. Взаимное признание Свидетельств РМРС и РКО и связанный с ним порядок технического наблюдения устанавливают отдельно. Прокат может быть поставлен под надзором иных компетентных организаций при наличии соответствующих решений
Расположен в:Государственные стандарты Общероссийский классификатор стандартов Металлургия Продукция из чугуна и стали Стальной листовой прокат и полуфабрикаты Стальные профили
ГОСТ Р 52927-2023ГОСТ Р 52927-2023ГОСТ Р 52927-2023ГОСТ Р 52927-2023ГОСТ Р 52927-2023ГОСТ Р 52927-2023ГОСТ Р 52927-2023ГОСТ Р 52927-2023ГОСТ Р 52927-2023ГОСТ Р 52927-2023ГОСТ Р 52927-2023ГОСТ Р 52927-2023ГОСТ Р 52927-2023ГОСТ Р 52927-2023ГОСТ Р 52927-2023ГОСТ Р 52927-2023ГОСТ Р 52927-2023ГОСТ Р 52927-2023ГОСТ Р 52927-2023ГОСТ Р 52927-2023ГОСТ Р 52927-2023ГОСТ Р 52927-2023ГОСТ Р 52927-2023ГОСТ Р 52927-2023ГОСТ Р 52927-2023ГОСТ Р 52927-2023ГОСТ Р 52927-2023ГОСТ Р 52927-2023ГОСТ Р 52927-2023ГОСТ Р 52927-2023ГОСТ Р 52927-2023ГОСТ Р 52927-2023ГОСТ Р 52927-2023ГОСТ Р 52927-2023ГОСТ Р 52927-2023ГОСТ Р 52927-2023ГОСТ Р 52927-2023ГОСТ Р 52927-2023ГОСТ Р 52927-2023ГОСТ Р 52927-2023ГОСТ Р 52927-2023ГОСТ Р 52927-2023ГОСТ Р 52927-2023ГОСТ Р 52927-2023ГОСТ Р 52927-2023ГОСТ Р 52927-2023ГОСТ Р 52927-2023ГОСТ Р 52927-2023ГОСТ Р 52927-2023ГОСТ Р 52927-2023ГОСТ Р 52927-2023ГОСТ Р 52927-2023ГОСТ Р 52927-2023ГОСТ Р 52927-2023ГОСТ Р 52927-2023ГОСТ Р 52927-2023ГОСТ Р 52927-2023ГОСТ Р 52927-2023ГОСТ Р 52927-2023ГОСТ Р 52927-2023ГОСТ Р 52927-2023ГОСТ Р 52927-2023ГОСТ Р 52927-2023ГОСТ Р 52927-2023ГОСТ Р 52927-2023ГОСТ Р 52927-2023ГОСТ Р 52927-2023ГОСТ Р 52927-2023ГОСТ Р 52927-2023ГОСТ Р 52927-2023ГОСТ Р 52927-2023ГОСТ Р 52927-2023ГОСТ Р 52927-2023ГОСТ Р 52927-2023ГОСТ Р 52927-2023ГОСТ Р 52927-2023ГОСТ Р 52927-2023ГОСТ Р 52927-2023ГОСТ Р 52927-2023ГОСТ Р 52927-2023ГОСТ Р 52927-2023ГОСТ Р 52927-2023ГОСТ Р 52927-2023ГОСТ Р 52927-2023ГОСТ Р 52927-2023ГОСТ Р 52927-2023ГОСТ Р 52927-2023ГОСТ Р 52927-2023ГОСТ Р 52927-2023ГОСТ Р 52927-2023ГОСТ Р 52927-2023ГОСТ Р 52927-2023ГОСТ Р 52927-2023ГОСТ Р 52927-2023ГОСТ Р 52927-2023ГОСТ Р 52927-2023ГОСТ Р 52927-2023ГОСТ Р 52927-2023ГОСТ Р 52927-2023ГОСТ Р 52927-2023ГОСТ Р 52927-2023ГОСТ Р 52927-2023ГОСТ Р 52927-2023ГОСТ Р 52927-2023ГОСТ Р 52927-2023ГОСТ Р 52927-2023ГОСТ Р 52927-2023ГОСТ Р 52927-2023ГОСТ Р 52927-2023ГОСТ Р 52927-2023

© 2013 Ёшкин Кот :-) Карта сайта