| ||||||||||||||||||||||||||||||
Скачать ГОСТ Р 51506-99 Конверты почтовые. Технические требования. Методы контроляДата актуализации: 01.06.2025
| ||||||||||||||||||||||||||||||
| Обозначение: | ![]() ГОСТ Р 51506-99 |
| Статус: | действующий |
| Название рус.: | Конверты почтовые. Технические требования. Методы контроля |
| Название англ.: | Post envelopes. Technical requirements. Control methods |
| Дата актуализации текста: | 06.04.2015 |
| Дата актуализации описания: | 01.07.2023 |
| Дата издания: | 20.03.2000 |
| Дата введения: | 01.07.2000 |
| Код ОКП: | 957500 |
| Нормативные ссылки: | ISO 6924:1983;ISO 269:1985;ISO 415:1975;ISO 4882:1979;ISO 11180:1993;ISO 1831:1980; ГОСТ 166-89; ГОСТ 427-75; ГОСТ 3489.33-72; ГОСТ 6034-74; ГОСТ 6861-73; ГОСТ 7625-86; ГОСТ 8074-82; ГОСТ 8273-75; ГОСТ 8874-80; ГОСТ 9094-89; ГОСТ 14192-96; ГОСТ 15150-69; ГОСТ 17308-88; ГОСТ 18242-72; ГОСТ 18251-87; ГОСТ 18321-73; ГОСТ 18992-80; ГОСТ 20283-89; ГОСТ 25706-83 |
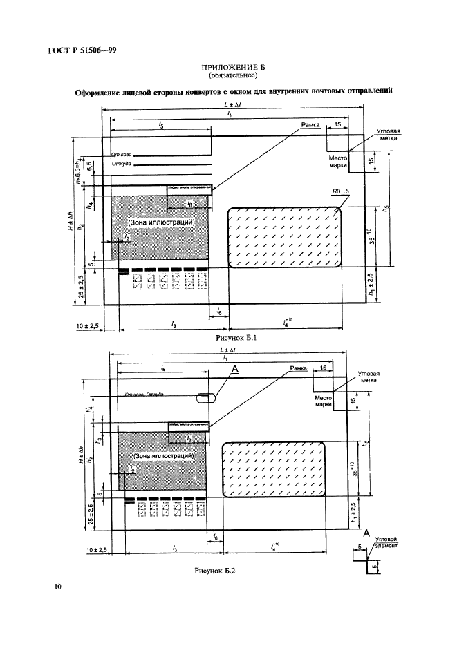
| Область применения: | Настоящий стандарт распространяется на почтовые конверты, предназначенные для пересылки почтовых отправлений (писем, бандеролей и мелких пакетов) |
| Расположен в: | |



















