| ||||||||||||||||||||||||||||||
Скачать ГОСТ Р 51243-99 Бритвенные системы для влажного бритья. Общие технические условияДата актуализации: 01.06.2025
| ||||||||||||||||||||||||||||||
| Обозначение: | ![]() ГОСТ Р 51243-99 |
| Статус: | действующий |
| Название рус.: | Бритвенные системы для влажного бритья. Общие технические условия |
| Название англ.: | Razor systems for damp shave. General specifications |
| Дата актуализации текста: | 06.04.2015 |
| Дата актуализации описания: | 01.07.2023 |
| Дата издания: | 02.03.1999 |
| Дата введения: | 01.07.1999 |
| Код ОКП: | 515700 |
| Нормативные ссылки: | ГОСТ 8.050-73; ГОСТ 8.051-81; ГОСТ 9.031-86; ГОСТ 9.302-88; ГОСТ 9.306-85; ГОСТ 2991-85; ГОСТ 3134-78; ГОСТ 5959-80; ГОСТ 9142-90; ГОСТ 14192-96; ГОСТ 15150-69; ГОСТ 18321-73; ГОСТ 21136-75; ГОСТ 24104-88; ГОСТ Р 50460-92 |
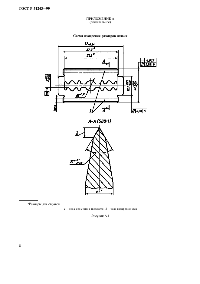
| Область применения: | Настоящий стандарт распространяется на бритвенные системы для влажного бритья и их составные элементы ( аппараты для бритья, лезвия, кассеты), предназначенные для бритья лезвиями с одной или двумя бреющими сторонами или кассетами, и устанавливает требования к этим изделиям, правила и методы испытаний. Настоящий стандарт не распространяется на клинковые бритвы. Бритвенные системы и их составные элементы по климатическому исполнению должны соответствовать требованиям ГОСТ 15150 ( категория размещения 4.2). Конкретные требования должны быть установлены в нормативных документах на конкретные изделия |
| Расположен в: | |











