| ||||||||||||||||||||||||||||||||||||||||||||||
Скачать ГОСТ 6133-99 Камни бетонные стеновые. Технические условияДата актуализации: 01.06.2025
| ||||||||||||||||||||||||||||||||||||||||||||||
| Обозначение: | ![]() ГОСТ 6133-99 |
| Статус: | заменён |
| Название рус.: | Камни бетонные стеновые. Технические условия |
| Название англ.: | Concrete wall stone. Specifications |
| Дата актуализации текста: | 06.04.2015 |
| Дата актуализации описания: | 01.07.2023 |
| Дата регистрации: | 02.12.1999 |
| Дата издания: | 01.01.2001 |
| Дата введения: | 01.01.2002 |
| Дата окончания срока действия: | 01.03.2020 |
| Код ОКП: | 574130 |
| Взамен: | ГОСТ 6133-84 |
| Заменяющий: | ГОСТ 6133-2019 |
| Нормативные ссылки: | ГОСТ 162-90; ГОСТ 166-89; ГОСТ 427-75; ГОСТ 503-81; ГОСТ 530-95; ГОСТ 965-89; ГОСТ 2912-79; ГОСТ 3749-77; ГОСТ 4579-79; ГОСТ 5578-94; ГОСТ 7025-91; ГОСТ 8135-74; ГОСТ 8267-93; ГОСТ 8462-85; ГОСТ 8736-93; ГОСТ 9570-84; ГОСТ 9757-90; ГОСТ 10060.0-95; ГОСТ 10178-85; ГОСТ 10354-82; ГОСТ 10832-91; ГОСТ 12730.1-78; ГОСТ 14192-96; ГОСТ 15825-80; ГОСТ 17624-87; ГОСТ 18105-86; ГОСТ 18172-80; ГОСТ 18343-80; ГОСТ 21121-75; ГОСТ 22263-76; ГОСТ 22266-94; ГОСТ 23616-79; ГОСТ 23732-79; ГОСТ 24211-91; ГОСТ 24816-81; ГОСТ 25328-82; ГОСТ 25592-91; ГОСТ 25818-91; ГОСТ 25951-83; ГОСТ 26433.1-89; ГОСТ 26644-85 |
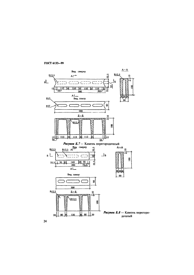
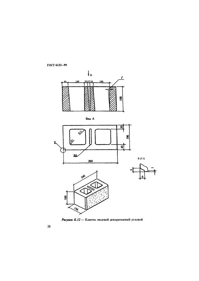
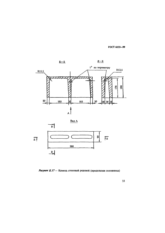
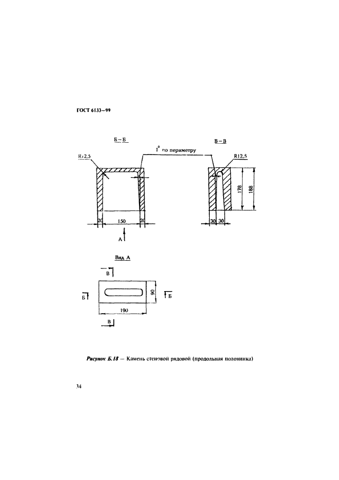
| Область применения: | Настоящий стандарт распространяется на стеновые бетонные камни, изготовленные вибропрессованием, прессованием, формованием или другими способами из легких, тяжелых и мелкозернистых бетонов. Камни применяют в соответствии с действующими строительными нормами и правилами при возведении стен и других конструкций зданий и сооружений различного назначения |
| Список изменений: | №0 от 30.06.2002 (рег. 30.06.2002) «Дата введения перенесена» |
| Приложение №1: | Поправка к ГОСТ 6133-99 |
| Расположен в: | |











































| Обозначение: | Поправка к ГОСТ 6133-99 |
| Дата введения: | 01.07.2002 |
