| Обозначение: |  ГОСТ Р 52762-2007 |
| Статус: | отменён |
| Название рус.: | Методы испытаний на стойкость к механическим внешним воздействующим факторам машин, приборов и других технических изделий. Испытания на воздействие ударов по оболочке изделий |
| Название англ.: | Mechanical environment stability test methods for machines, instruments and other industrial products. Test methods for bumps to enclosure of products |
| Дата актуализации текста: | 06.04.2015 |
| Дата актуализации описания: | 01.07.2023 |
| Дата издания: | 11.12.2007 |
| Дата введения: | 01.01.2008 |
| Дата окончания срока действия: | 01.01.2015 |
| Код ОКП: | 310000;600000;940000 |
| Содержит требования: | IEC 60068-2-75(1997) |
| На территории РФ пользоваться: | ГОСТ 30630.1.10-2013 |
| Нормативные ссылки: | ГОСТ 380-94; ГОСТ 9013-59; ГОСТ 11472-69; ГОСТ 15150-69; ГОСТ 24622-91; ГОСТ 26883-86; ГОСТ 30630.0.0-99 |
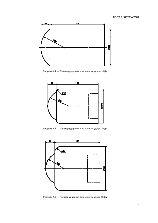
| Область применения: | Настоящий стандарт распространяется на машины, приборы и другие технические изделия всех видов, которым предъявляют требование по воздействию ударов посторонних предметов с энергией до 50 Дж, и устанавливает методы их соответствующих испытаний. Стандарт применяют совместно с ГОСТ 30630.0.0 |
| Список изменений: | №0 от 01.01.2015 (рег. 09.09.2014) «Текстовое изменение; Изменено заглавие» |
|
| Расположен в: |
|