Информационная система
«Ёшкин Кот»

Скачать базу одним архивом
Скачать обновления
История создания базы
Карта сайта

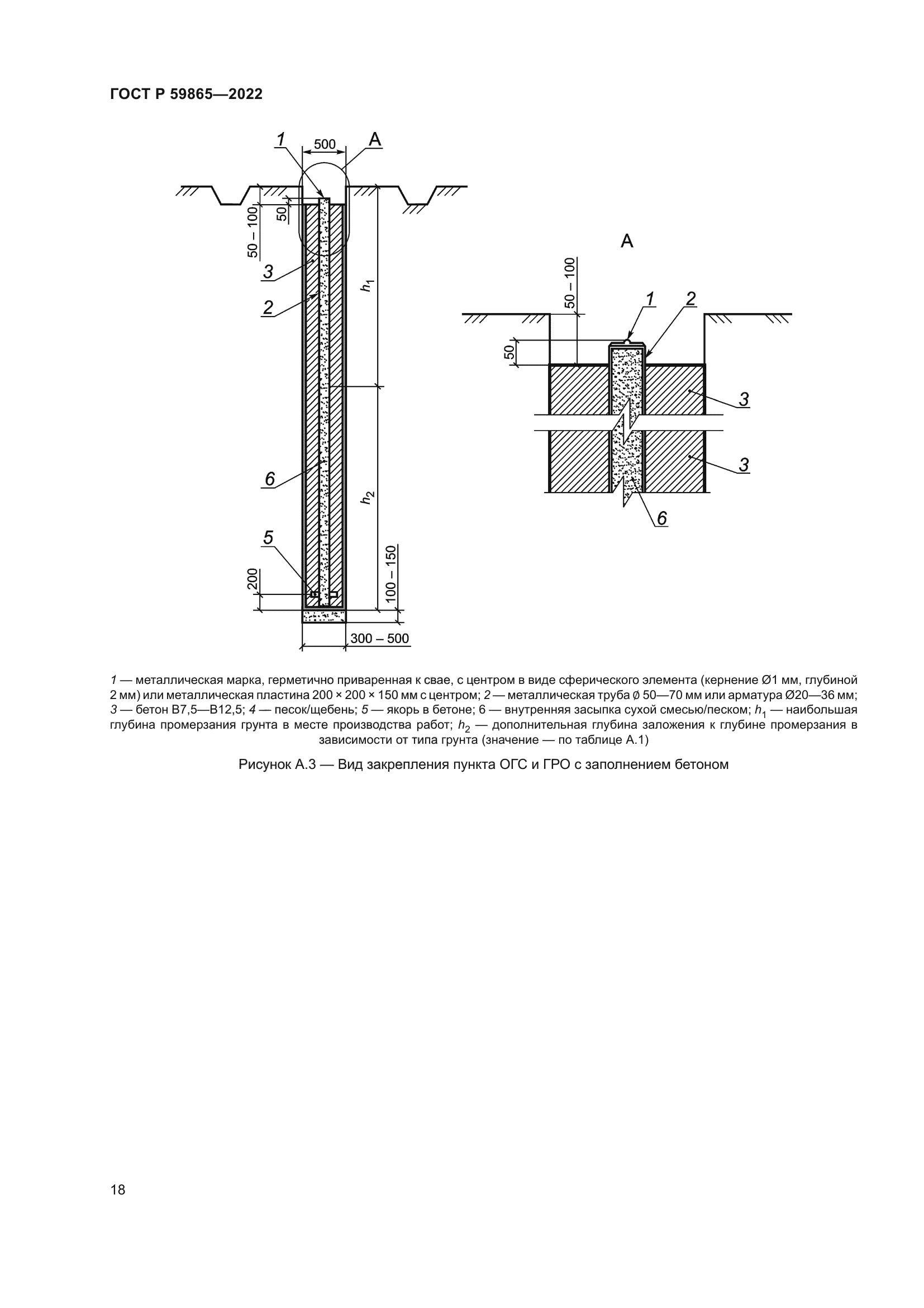
Скачать ГОСТ Р 59865-2022 Дороги автомобильные общего пользования. Сети геодезические для проектирования и строительства. Общие требования

Дата актуализации: 01.06.2025

ГОСТ Р 59865-2022

Дороги автомобильные общего пользования. Сети геодезические для проектирования и строительства. Общие требования

Обозначение: ГОСТ Р 59865-2022
Статус:действующий
Название рус.:Дороги автомобильные общего пользования. Сети геодезические для проектирования и строительства. Общие требования
Название англ.:Automobile roads of general use. Geodetic networks for engineering and building. Technical requirement
Дата актуализации текста:01.06.2022
Дата актуализации описания:01.07.2023
Дата издания:25.03.2022
Дата введения:01.04.2022
Нормативные ссылки:ГОСТ 32869;ГОСТ Р 55024;ГОСТ Р 56408;СП 48.13330.2019;СП 122.13330.2012;СП 126.13330.2017
Область применения:Настоящий стандарт распространяется на геодезические сети и устанавливает требования к геодезическому обеспечению и порядку создания геодезических сетей для проектирования и строительства на объектах нового строительства, реконструкции, комплексного обустройства, капитального ремонта, ремонта и эксплуатации автомобильных дорог общего пользования (далее – автомобильные дороги) и искусственных сооружений, входящих в их состав. Настоящий стандарт применяется при производстве инженерно-геодезических работ, при подготовке документации по планировке территории и проектной документации на объектах нового строительства, реконструкции, ремонтов и комплексного обустройства в ходе эксплуатации действующих автомобильных дорог и искусственных сооружений на них. При геодезическом обеспечении и инженерно-геодезических работах наряду с настоящим стандартом следует также руководствоваться требованиями нормативных правовых актов и документов, действующих на территории Российской Федерации
Расположен в:Государственные стандарты Общероссийский классификатор стандартов Гражданское строительство Строительство дорог Строительство дорог в целом
ГОСТ Р 59865-2022ГОСТ Р 59865-2022ГОСТ Р 59865-2022ГОСТ Р 59865-2022ГОСТ Р 59865-2022ГОСТ Р 59865-2022ГОСТ Р 59865-2022ГОСТ Р 59865-2022ГОСТ Р 59865-2022ГОСТ Р 59865-2022ГОСТ Р 59865-2022ГОСТ Р 59865-2022ГОСТ Р 59865-2022ГОСТ Р 59865-2022ГОСТ Р 59865-2022ГОСТ Р 59865-2022ГОСТ Р 59865-2022ГОСТ Р 59865-2022ГОСТ Р 59865-2022ГОСТ Р 59865-2022ГОСТ Р 59865-2022ГОСТ Р 59865-2022ГОСТ Р 59865-2022ГОСТ Р 59865-2022ГОСТ Р 59865-2022ГОСТ Р 59865-2022ГОСТ Р 59865-2022ГОСТ Р 59865-2022ГОСТ Р 59865-2022ГОСТ Р 59865-2022ГОСТ Р 59865-2022ГОСТ Р 59865-2022ГОСТ Р 59865-2022ГОСТ Р 59865-2022ГОСТ Р 59865-2022ГОСТ Р 59865-2022ГОСТ Р 59865-2022ГОСТ Р 59865-2022ГОСТ Р 59865-2022ГОСТ Р 59865-2022

© 2013 Ёшкин Кот :-) Карта сайта