| Обозначение: |  ГОСТ ЕN 1854-2008 |
| Статус: | принят |
| Название рус.: | Датчики давления для газовых горелок и газогорелочных приборов |
| Название англ.: | Pressure sensing devices for gas burners and gas burning appliances |
| Дата актуализации текста: | 01.06.2022 |
| Дата актуализации описания: | 01.06.2022 |
| Дата регистрации: | 07.10.2008 |
| Дата введения: | 01.07.2022 |
| Аутентичен стандартам: | ЕН 1854:1997 |
| Нормативные ссылки: | ISO 7-1:1994;ISO 65:1981;ISO 75:1993;ISO 228-1:1994;ISO 262:1973;ISO 301:1981;ISO 1817:1985;ISO 4400:1994;ISO 6952:1994;ISO 7005;IEC 536(1992);EN 298:1993;EN 549:1994;EN 1954:1996;EN 60529:1991;EN 60730-1:1995;EN 60730-2-6:1995;EN 61058 |
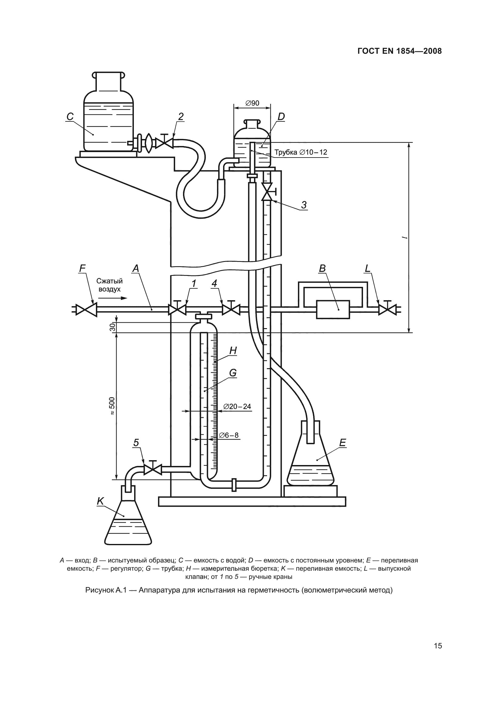
| Область применения: | Настоящий стандарт устанавливает основные требования и методы испытания для датчиков давления (далее – датчики) для управления топливными газами первого, второго и третьего семейств, воздухом, продуктами сгорания и их смесей для давлений до 4 бар. Настоящий стандарт распространяется на все типы датчиков, включая электронные, дифференциальные и индуктивные типы. Требования для датчиков класса «S» предназначены для повышения надежности паровых котлов. Методы испытания, указанные в настоящем стандарте, распространяются на испытания образца. Испытания для производственных нужд не включены |
|
| Расположен в: |
|