Информационная система
«Ёшкин Кот»

Скачать базу одним архивом
Скачать обновления
История создания базы
Карта сайта

Скачать ГОСТ Р 59547-2021 Защита информации. Мониторинг информационной безопасности. Общие положения

Дата актуализации: 01.06.2025

ГОСТ Р 59547-2021

Защита информации. Мониторинг информационной безопасности. Общие положения

Обозначение: ГОСТ Р 59547-2021
Статус:действующий
Название рус.:Защита информации. Мониторинг информационной безопасности. Общие положения
Название англ.:Information protection. Information security monitoring. General provisions
Дата актуализации текста:01.06.2022
Дата актуализации описания:01.06.2022
Дата издания:02.08.2021
Дата введения:01.04.2022
Нормативные ссылки:ГОСТ Р 59548
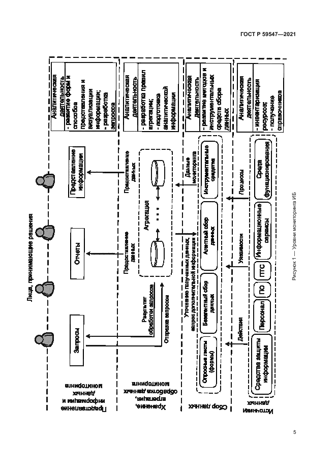
Область применения:Настоящий стандарт устанавливает уровни мониторинга ИБ, требования к каждому уровню, порядок осуществления мониторинга ИБ и требования к защите данных мониторинга. Положения настоящего стандарта применимы к мероприятиям по мониторингу ИБ, осуществляемым операторами по отношению к эксплуатируемым ими информационным (автоматизированным) системам, а также к мероприятиям по мониторингу ИБ, осуществляемым в рамках деятельности по оказанию услуг мониторинга ИБ. Настоящий стандарт не устанавливает требования к средствам мониторинга ИБ и к мероприятиям, связанным с выявлением компьютерных инцидентов и реагированием на них
Расположен в:Государственные стандарты Общероссийский классификатор стандартов Информационные технологии. Машины конторские Информационные технологии в целом
ГОСТ Р 59547-2021ГОСТ Р 59547-2021ГОСТ Р 59547-2021ГОСТ Р 59547-2021ГОСТ Р 59547-2021ГОСТ Р 59547-2021ГОСТ Р 59547-2021ГОСТ Р 59547-2021ГОСТ Р 59547-2021ГОСТ Р 59547-2021ГОСТ Р 59547-2021ГОСТ Р 59547-2021ГОСТ Р 59547-2021ГОСТ Р 59547-2021ГОСТ Р 59547-2021ГОСТ Р 59547-2021ГОСТ Р 59547-2021ГОСТ Р 59547-2021ГОСТ Р 59547-2021

© 2013 Ёшкин Кот :-) Карта сайта