| Обозначение: |  ГОСТ Р 59236-2020 |
| Статус: | действующий |
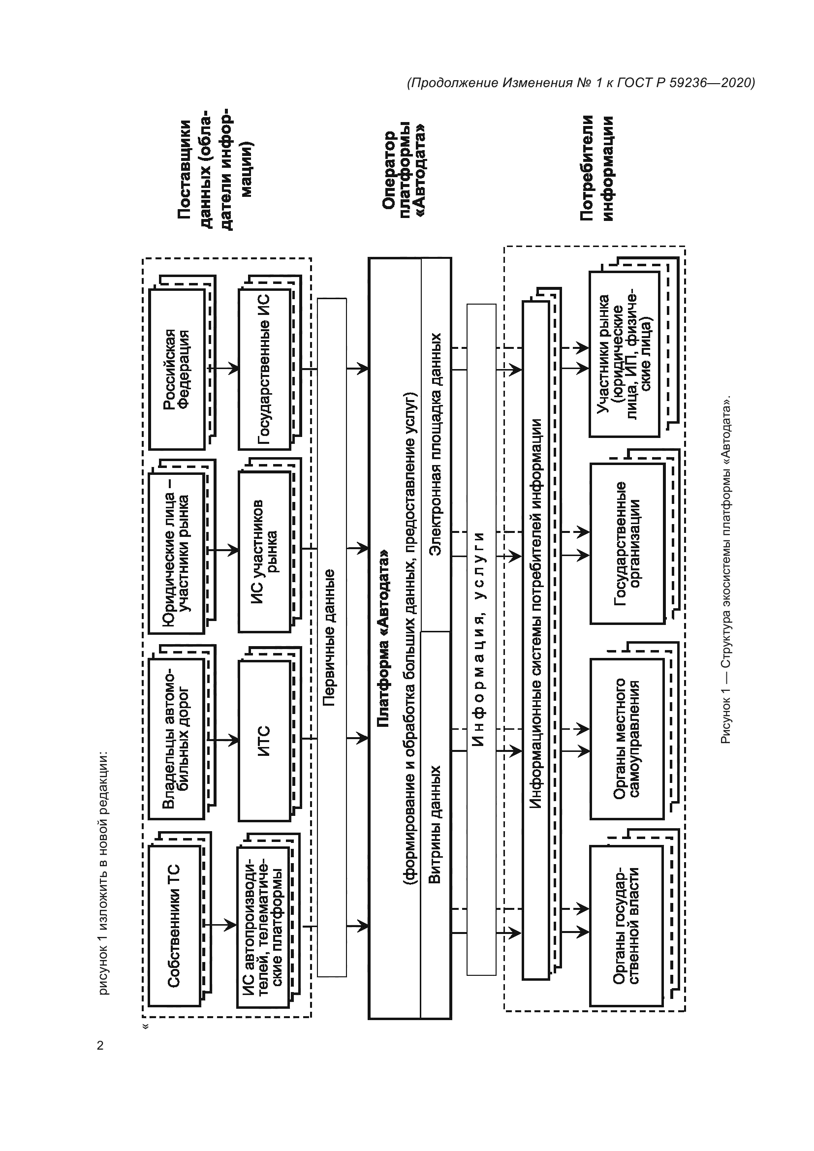
| Название рус.: | Платформа «Автодата». Общие положения |
| Название англ.: | Platform «Avtodata». Generalities |
| Дата актуализации текста: | 01.06.2022 |
| Дата актуализации описания: | 01.07.2023 |
| Дата издания: | 17.12.2020 |
| Дата введения: | 01.09.2022 |
| Область применения: | Настоящий стандарт распространяется на российскую сервисную навигационно-телематическую платформу «Автодата» и устанавливает общие положения в области ее создания и функционирования. Положения настоящего стандарта могут использоваться при разработке продукции и оказании услуг на базе информации, сбор, обработка и предоставление которой осуществляется платформой «Автодата» |
| Приложение №1: | Изменение №1 к ГОСТ Р 59236-2020 |
|
| Расположен в: |
|