Информационная система
«Ёшкин Кот»

Скачать базу одним архивом
Скачать обновления
История создания базы
Карта сайта

Скачать ГОСТ ISO 14971-2021 Изделия медицинские. Применение менеджмента риска к медицинским изделиям

Дата актуализации: 01.06.2025

ГОСТ ISO 14971-2021

Изделия медицинские. Применение менеджмента риска к медицинским изделиям

Обозначение: ГОСТ ISO 14971-2021
Статус:действующий
Название рус.:Изделия медицинские. Применение менеджмента риска к медицинским изделиям
Название англ.:Medical devices. Application of risk management to medical devices
Дата актуализации текста:01.01.2023
Дата актуализации описания:01.01.2022
Дата регистрации:22.10.2021
Дата издания:22.11.2021
Дата введения:01.10.2022
Взамен:ГОСТ ISO 14971-2011
Аутентичен стандартам:ISO 14971:2019
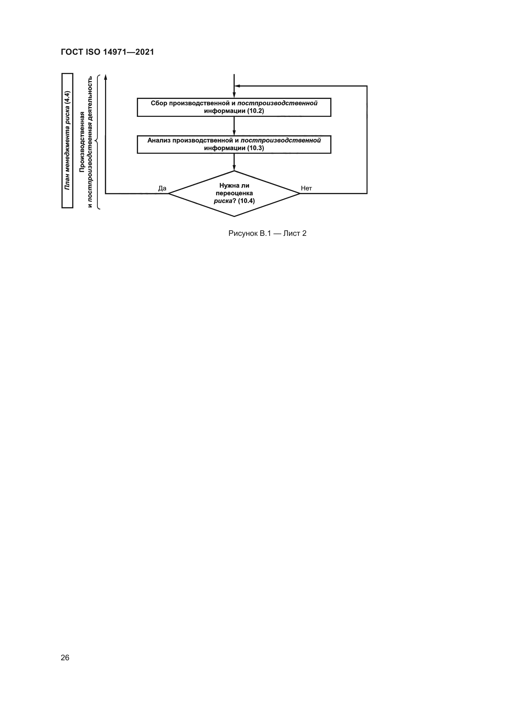
Область применения:Настоящий стандарт устанавливает терминологию, принципы и процесс менеджмента риска медицинских изделий, включая программное обеспечение как медицинское изделие и медицинские изделия для диагностики in vitro. Процесс, описанный в настоящем стандарте, предназначен для оказания помощи изготовителям медицинских изделий в идентификации опасностей, связанных с медицинским изделием, в определении и оценивании связанных с ними рисков, управлении этими рисками и мониторинге результативности предпринимаемого управления. Требования настоящего стандарта применимы ко всем стадиям жизненного цикла медицинского изделия. Процесс, описанный в настоящем стандарте, применяется к рискам, присущим медицинским изделиям, таким как риски, связанные с биологической совместимостью, безопасностью данных и систем, электричеством, движущимися частями, излучением и эксплуатационной пригодностью
Приложение №1:Поправка к ГОСТ ISO 14971-2021
Расположен в:Государственные стандарты Общероссийский классификатор стандартов Здравоохранение Медицинское оборудование Медицинское оборудование в целом
ГОСТ ISO 14971-2021ГОСТ ISO 14971-2021ГОСТ ISO 14971-2021ГОСТ ISO 14971-2021ГОСТ ISO 14971-2021ГОСТ ISO 14971-2021ГОСТ ISO 14971-2021ГОСТ ISO 14971-2021ГОСТ ISO 14971-2021ГОСТ ISO 14971-2021ГОСТ ISO 14971-2021ГОСТ ISO 14971-2021ГОСТ ISO 14971-2021ГОСТ ISO 14971-2021ГОСТ ISO 14971-2021ГОСТ ISO 14971-2021ГОСТ ISO 14971-2021ГОСТ ISO 14971-2021ГОСТ ISO 14971-2021ГОСТ ISO 14971-2021ГОСТ ISO 14971-2021ГОСТ ISO 14971-2021ГОСТ ISO 14971-2021ГОСТ ISO 14971-2021ГОСТ ISO 14971-2021ГОСТ ISO 14971-2021ГОСТ ISO 14971-2021ГОСТ ISO 14971-2021ГОСТ ISO 14971-2021ГОСТ ISO 14971-2021ГОСТ ISO 14971-2021ГОСТ ISO 14971-2021ГОСТ ISO 14971-2021ГОСТ ISO 14971-2021ГОСТ ISO 14971-2021ГОСТ ISO 14971-2021ГОСТ ISO 14971-2021ГОСТ ISO 14971-2021ГОСТ ISO 14971-2021ГОСТ ISO 14971-2021ГОСТ ISO 14971-2021ГОСТ ISO 14971-2021ГОСТ ISO 14971-2021

Поправка к ГОСТ ISO 14971-2021

Обозначение:Поправка к ГОСТ ISO 14971-2021
Дата введения:04.08.2022


Поправка к ГОСТ ISO 14971-2021

© 2013 Ёшкин Кот :-) Карта сайта