| Обозначение: |    ГОСТ Р 8.1003-2021 | 
| Статус: | действующий | 
| Название рус.: | Государственная система обеспечения единства измерений. Аттестованные объекты в области использования атомной энергии. Порядок разработки и аттестации | 
| Название англ.: | State system for ensuring the uniformity of measurements. Certified objects in the field of the use of atomic energy. Development and certification procedure | 
| Дата актуализации текста: | 01.01.2022 | 
| Дата актуализации описания: | 01.07.2023 | 
| Дата издания: | 09.12.2021 | 
| Дата введения: | 01.06.2022 | 
| Нормативные ссылки: | ГОСТ ISO Guide 35; ГОСТ Р 8.563; ГОСТ Р 8.609; ГОСТ Р 8.703-2020; ГОСТ Р 50.05.15-2018 | 
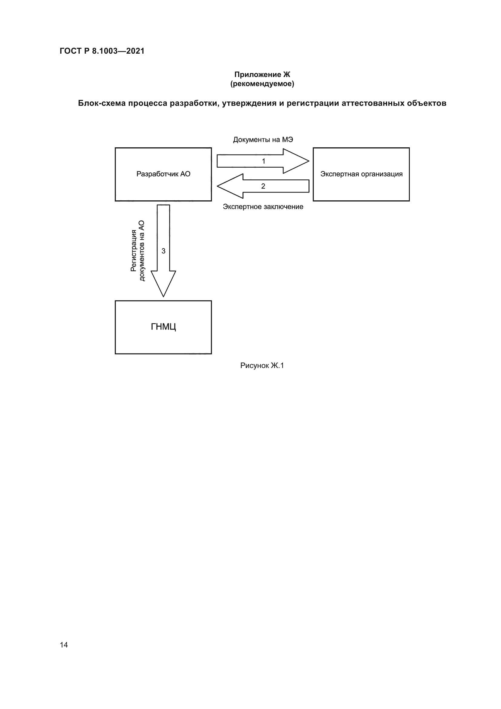
| Область применения: | Настоящий стандарт распространяется на объекты, применяемые для метрологического обеспечения в области использования атомной энергии, и устанавливает порядок их разработки и аттестации. После выполнения процедуры аттестации, такие объекты могут быть использованы как аттестованные объекты, требования к которым установлены нормативно правовым актом | 
 | 
| Расположен в: | 
  |