| Обозначение: |  ГОСТ IEC 61643-32-2021 |
| Статус: | действующий |
| Название рус.: | Устройства защиты от перенапряжений низковольтные. Часть 32. Устройства защиты от перенапряжений фотоэлектрических систем. Принципы выбора и применения |
| Название англ.: | Low-voltage surge protective devices. Part 32. Surge protective devices connected to the d.c. side of photovoltaic installations. Selection and application principles |
| Дата актуализации текста: | 01.01.2022 |
| Дата актуализации описания: | 01.07.2023 |
| Дата регистрации: | 30.09.2021 |
| Дата издания: | 23.11.2021 |
| Дата введения: | 01.03.2022 |
| Аутентичен стандартам: | IEC 61643-32(2017) |
| Нормативные ссылки: | IEC 60364-4-44(2007);IEC 60364-4-44(2007)/Amd.1 (2015);IEC 60364-5-53(2015);IEC 60364-5-54;IEC 60364-7-712(2017);IEC 60664-1(2007);IEC 61000-4-5(2014);IEC 61643-11(2011);IEC 61643-12;IEC 61643-21;IEC 61643-22;IEC 61643-31;IEC 62305-2;IEC 62305-3;IEC 62305-4;ITU-T, recommendation K.20;ITU-T, recommendation K.21 |
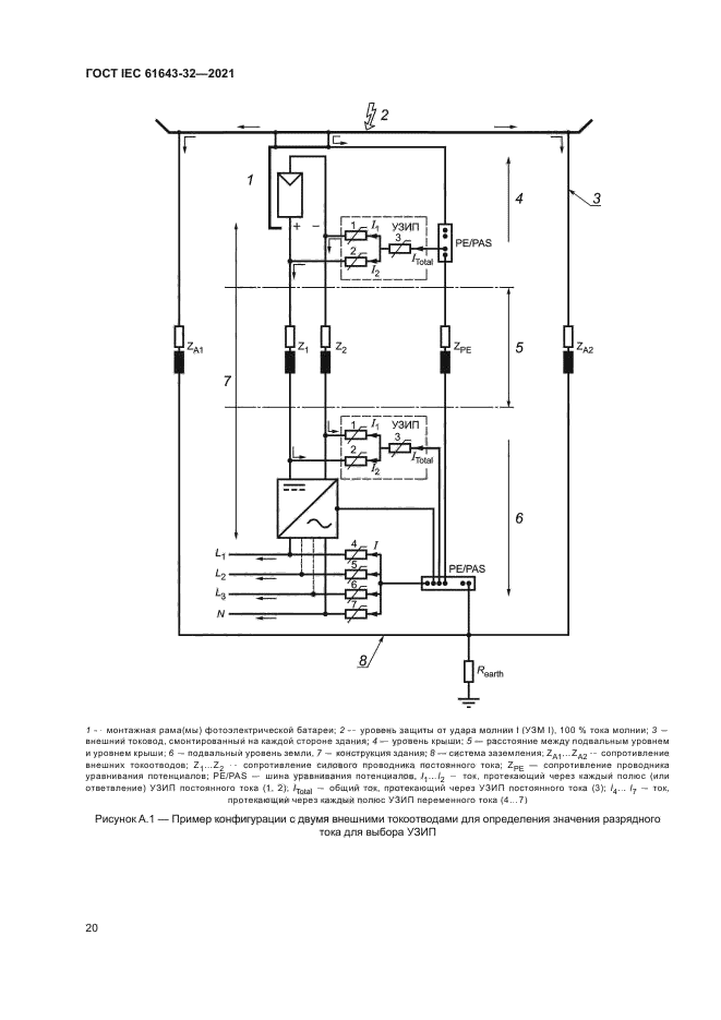
| Область применения: | Настоящий стандарт устанавливает принципы выбора, установки и координации устройств защиты от импульсных перенапряжений (УЗИП), предназначенных для использования в фотоэлектрических системах (ФЭС) с напряжением до 1500 В на стороне постоянного тока (DC) и напряжением до 1000 В (среднеквадратичное значение) на стороне переменного тока (АС) и частотой 50/60 Гц. ФЭС включает в себя фотоэлектрическую батарею (ФБ), состоящую из электрически соединенных между собой фотоэлектрических модулей, соответствующие электрические кабели, защитные устройства, а также инвертор и точку подключения в распределительном щите или пункте электроснабжения |
|
| Расположен в: |
|