| ||||||||||||||||||||||||||||||||
Скачать ГОСТ Р 27.303-2021 Надежность в технике. Анализ видов и последствий отказовДата актуализации: 01.06.2025
| ||||||||||||||||||||||||||||||||
| Обозначение: | ![]() ГОСТ Р 27.303-2021 |
| Статус: | действующий |
| Название рус.: | Надежность в технике. Анализ видов и последствий отказов |
| Название англ.: | Dependability in technics. Failure modes and effects analysis |
| Дата актуализации текста: | 01.01.2022 |
| Дата актуализации описания: | 01.07.2023 |
| Дата издания: | 17.10.2021 |
| Дата введения: | 01.01.2022 |
| Взамен: | ГОСТ Р 51901.12-2007 |
| Содержит требования: | IEC 60812(2018) |
| Нормативные ссылки: | ГОСТ ISO 13849-1-2014; ГОСТ 27.002; ГОСТ Р 22.0.12-2015; ГОСТ Р 27.013; ГОСТ Р 27.302; ГОСТ Р 27.606; ГОСТ Р 55.0.01; ГОСТ Р 51897; ГОСТ Р 51901.14; ГОСТ Р 57273; ГОСТ Р ИСО 31000; ГОСТ Р ИСО/МЭК 31010; ГОСТ Р МЭК 61165; ГОСТ Р МЭК 61508-1; ГОСТ Р МЭК 61508-2; ГОСТ Р МЭК 61508-3; ГОСТ Р МЭК 61508-4; ГОСТ Р МЭК 61508-5; ГОСТ Р МЭК 61508-6; ГОСТ Р МЭК 61508-7; ГОСТ Р МЭК 62061; ГОСТ Р МЭК 62502; ГОСТ Р МЭК 62508 |
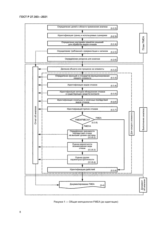
| Область применения: | В настоящем стандарте приведено описание планирования, выполнения, документирования и поддержки применения метода анализа видов и последствий отказов (FMEA), включая анализ видов, последствий и критичности отказов (FMECA). Анализ видов и последствий отказов (FMEA) направлен на выявление способов отказа объектов или процессов и способов предотвращения таких отказов в дальнейшем. FMEA представляет собой систематизированный метод идентификации видов отказов и их последствий для объекта или процесса на локальном и глобальном уровне. Этот метод может включать в себя определение причин отказов. Виды отказов могут быть ранжированы для использования при принятии решений об их устранении. Если ранжирование отказов включает в себя определение и учет значимости и других важных показателей последствий отказов, то анализ называют анализом видов, последствий и критичности отказов (FMECA) |
| Расположен в: | |





































































