| Обозначение: |  ГОСТ Р 58891-2020 |
| Статус: | действующий |
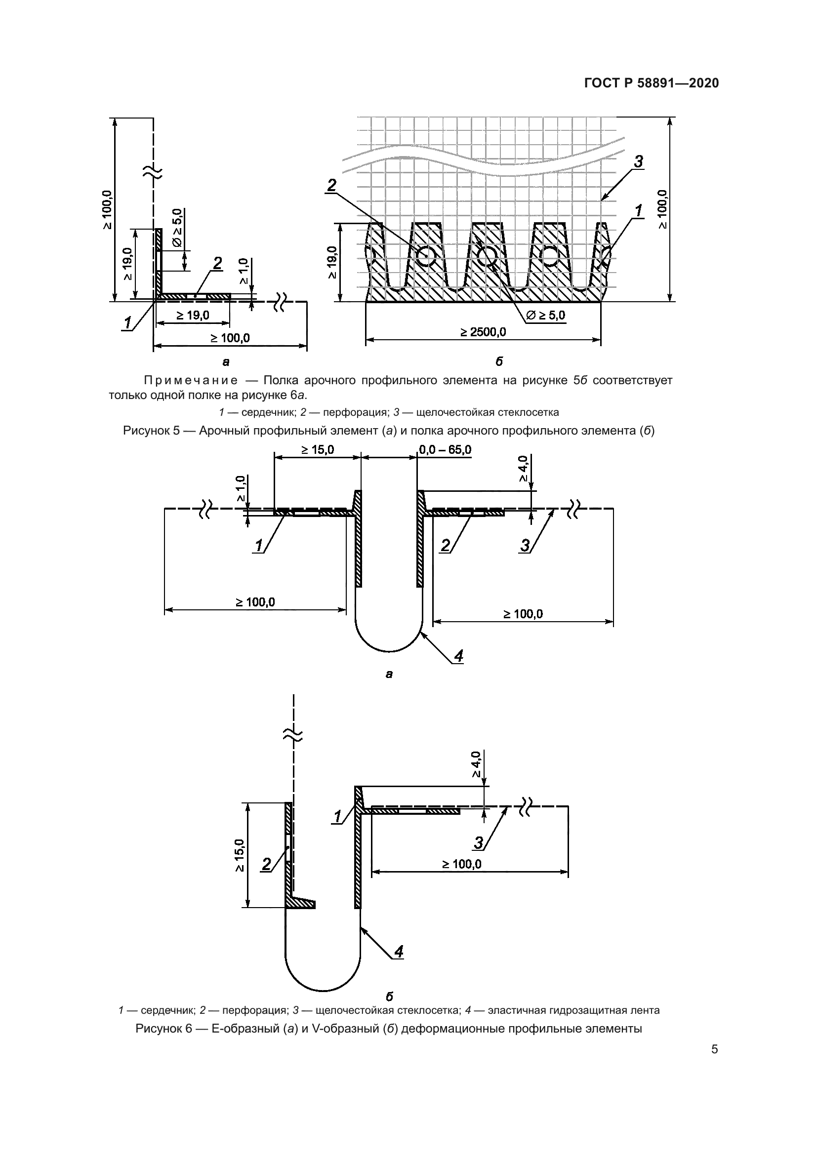
| Название рус.: | Элементы профильные для фасадных теплоизоляционных композиционных систем с наружными штукатурными слоями. Технические условия |
| Название англ.: | Reinforcingandshapeendingelementsforfacade’sthermalinsulationcompositesystemswithexternalmortarlayers. Specifications |
| Дата актуализации текста: | 01.01.2024 |
| Дата актуализации описания: | 01.01.2024 |
| Дата издания: | 14.07.2020 |
| Дата введения: | 01.09.2020 |
| Нормативные ссылки: | ГОСТ 166; ГОСТ 427; ГОСТ 13726; ГОСТ 14192; ГОСТ 19111; ГОСТ 19433; ГОСТ 30778; ГОСТ 31362; ГОСТ 33740; ГОСТ 34275; ГОСТ Р 53338; ГОСТ 5632; ГОСТ 10174–90; ГОСТ Р 55411 |
| Область применения: | Настоящий стандарт распространяется на профильные элементы (профили), выпускаемые промышленным способом, применяемые в качестве элементов усиления в составе фасадных теплоизоляционных композиционных систем с наружными штукатурными слоями (СФТК) и примыкания к изделиям и конструкциям в местах завершения СФТК при строительстве, реконструкции, ремонте зданий и сооружений. Настоящий стандарт устанавливает технические требования, методы контроля, правила приемки профильных элементов, готовых к монтажу |
| Приложение №1: | Изменение №1 к ГОСТ Р 58891-2020 |
|
| Расположен в: |
|