| ||||||||||||||||||||||||||||||||||||||
Скачать ГОСТ 3634-2019 Люки смотровых колодцев и дождеприемники ливнесточных колодцев. Технические условияДата актуализации: 01.06.2025
| ||||||||||||||||||||||||||||||||||||||
| Обозначение: | ![]() ГОСТ 3634-2019 |
| Статус: | действующий |
| Название рус.: | Люки смотровых колодцев и дождеприемники ливнесточных колодцев. Технические условия |
| Название англ.: | Аccess manhole covers and storm-flow receivers for manholes. Specifications |
| Дата актуализации текста: | 01.06.2021 |
| Дата актуализации описания: | 01.07.2023 |
| Дата регистрации: | 30.09.2019 |
| Дата издания: | 24.01.2020 |
| Дата введения: | 01.06.2020 |
| Взамен: | ГОСТ 3634-99 |
| Нормативные ссылки: | ГОСТ 166; ГОСТ 380; ГОСТ 427; ГОСТ 1412; ГОСТ 7293; ГОСТ 14192; ГОСТ 15150; ГОСТ 24555; ГОСТ 26358; ГОСТ 26633; ГОСТ 26645; ГОСТ Р 8.568-2017; ГОСТ Р 53464-2009 |
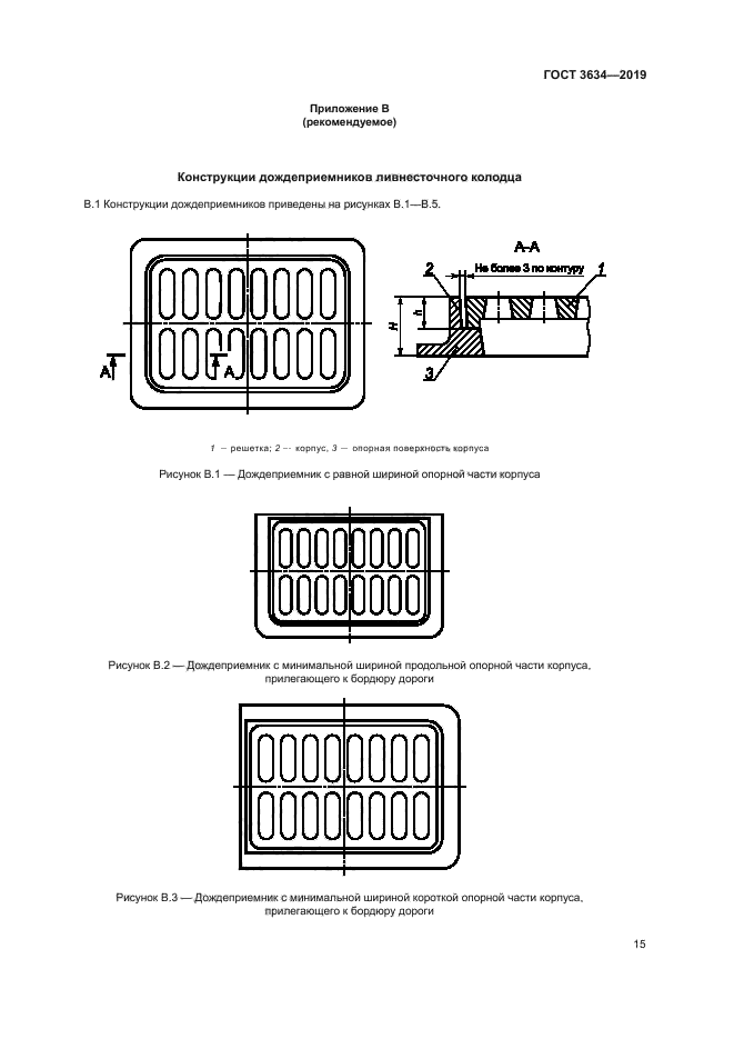
| Область применения: | Настоящий стандарт распространяется на люки колодцев и камер подземных инженерных коммуникаций: тепловых сетей, водопровода, канализации, дренажа, кабельной канализации, городской кабельной сети, городской телефонной сети, пожарных гидрантов, технических средств обеспечения движения, коверов, обеспечивающих доступ и защиту выходящим на поверхность земли различным устройствам трубопроводной арматуры, а также на дождеприемники ливневой канализации, предназначенные для приема поверхностных сточных вод и атмосферных осадков. Данный стандарт не распространяется на люки, дождеприемники и коверы из полимерно-песчаных композитов, пластиков, а также стеклопластиков, поливинилхлорида, полиэтилена высокого и низкого давления в различных модификациях |
| Приложение №1: | Поправка к ГОСТ 3634-2019 |
| Расположен в: | |
























| Обозначение: | Поправка к ГОСТ 3634-2019 |
| Дата введения: | 15.03.2021 |
