| Обозначение: |  ГОСТ Р 58380-2019 |
| Статус: | действующий |
| Название рус.: | Крепления для горных и туристических лыж. Подошвы для испытаний креплений. Технические требования и методы испытаний |
| Название англ.: | Alpine and touring ski-bindings. Test soles for ski-binding tests. Technical requirements and test methods |
| Дата актуализации текста: | 10.06.2020 |
| Дата актуализации описания: | 01.07.2023 |
| Дата издания: | 10.01.2020 |
| Дата введения: | 01.06.2020 |
| Нормативные ссылки: | ГОСТ 24621;ГОСТ ISO 5355; ГОСТ Р 58378 |
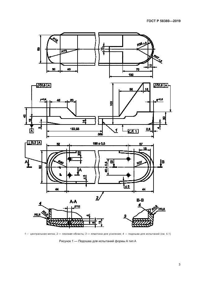
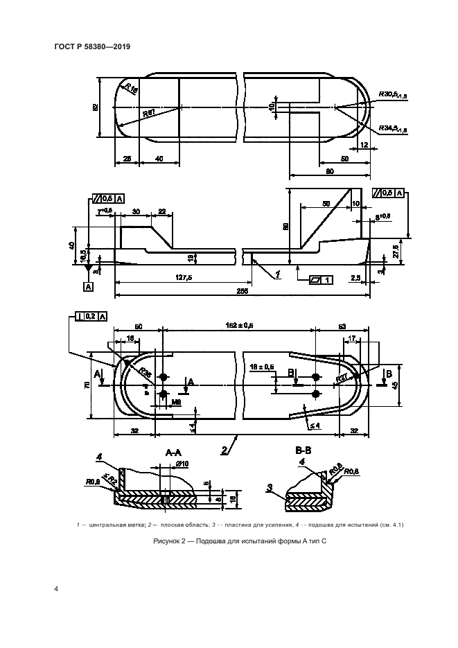
| Область применения: | Настоящий стандарт распространяется на подошвы для испытаний креплений горных и туристических лыж и устанавливает технические требования и методы испытаний |
|
| Расположен в: |
|