| Обозначение: |  ГОСТ 34561-2019 |
| Статус: | действующий |
| Название рус.: | Упаковка стеклянная. Бутылки. Венчик 28 мм с защитой от вскрытия для жидкостей под давлением. Размеры |
| Название англ.: | Glass packing. Bottles. 28 mm tamper-evident finish for pressurized liquids. Dimensions |
| Дата актуализации текста: | 01.01.2021 |
| Дата актуализации описания: | 01.01.2021 |
| Дата регистрации: | 30.07.2019 |
| Дата издания: | 10.10.2019 |
| Дата введения: | 01.06.2020 |
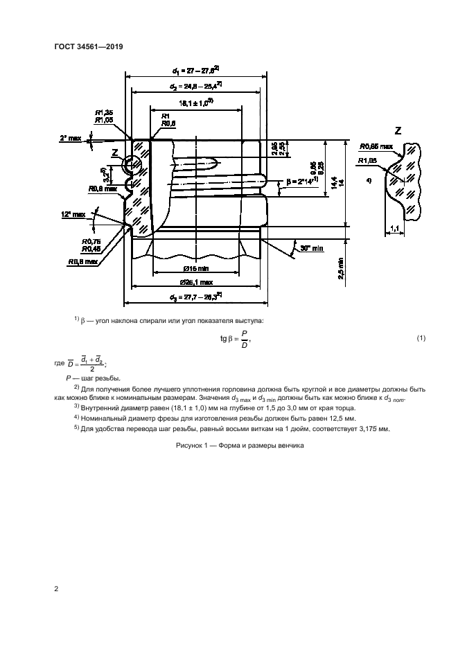
| Область применения: | Настоящий стандарт устанавливает размеры венчика стеклянной бутылки, имеющей горловину диаметром 28 мм, с защитой от вскрытия для жидкостей под давлением |
|
| Расположен в: |
|