| ||||||||||||||||||||||||||||||||||||
Скачать ГОСТ Р 58411-2019 Плиты бетонные гибкие. Технические условияДата актуализации: 01.06.2025
| ||||||||||||||||||||||||||||||||||||
| Обозначение: | ![]() ГОСТ Р 58411-2019 |
| Статус: | действующий |
| Название рус.: | Плиты бетонные гибкие. Технические условия |
| Название англ.: | Flexible concrete slabs. Specifications |
| Дата актуализации текста: | 01.07.2023 |
| Дата актуализации описания: | 01.07.2023 |
| Дата издания: | 31.05.2019 |
| Дата введения: | 01.01.2020 |
| Код ОКП: | 585900 |
| Нормативные ссылки: | ГОСТ 2789; ГОСТ 7473; ГОСТ 8267; ГОСТ 8736; ГОСТ 8829; ГОСТ 10060; ГОСТ 10180; ГОСТ 10181; ГОСТ 12730.5; ГОСТ 13015; ГОСТ 18105; ГОСТ 22266; ГОСТ 22690; ГОСТ 23732; ГОСТ 24211; ГОСТ 25552; ГОСТ 26633; ГОСТ 27006; ГОСТ 30055; ГОСТ 31108; ГОСТ 31384; ГОСТ 31424; ГОСТ Р 57997; ГОСТ Р ИСО 10572; ГОСТ Р 58941; ГОСТ Р 58939;СП 41.13330.2012 |
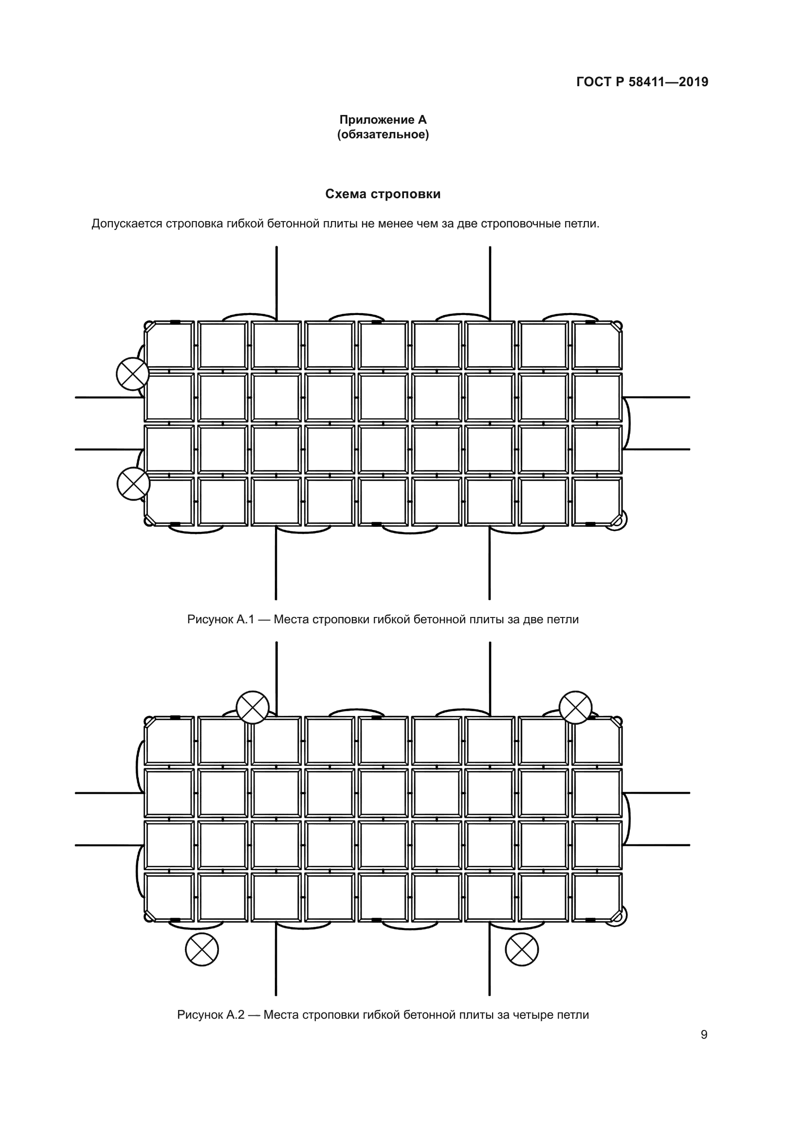
| Область применения: | Настоящий стандарт распространяется на гибкие бетонные плиты, состоящие из бетонных блоков, соединенных гибкими связями и предназначенные для сооружения гибких бетонных покрытий для укрепления берегов искусственных и естественных водотоков и водоемов, укрепления откосов дорожных насыпей, укрепления откосов защитных и регуляционных сооружений, для защиты подводных переходов трубопроводов, защиты дна акваторий портов, дополнительной защиты кабельных трасс, прокладываемых через водные преграды, сооружения временных противопаводковых укреплений, защиты гребней плотин и дамб от размыва при переливе, сооружении каналов, канав и стоков, защиты дна отстойников и прочих видов искусственных сооружений |
| Приложение №1: | Изменение №1 к ГОСТ Р 58411-2019 |
| Расположен в: | |



















| Обозначение: | Изменение №1 к ГОСТ Р 58411-2019 |
| Дата введения: | 01.01.2023 |






