| Обозначение: |  ГОСТ 34497-2018 |
| Статус: | действующий |
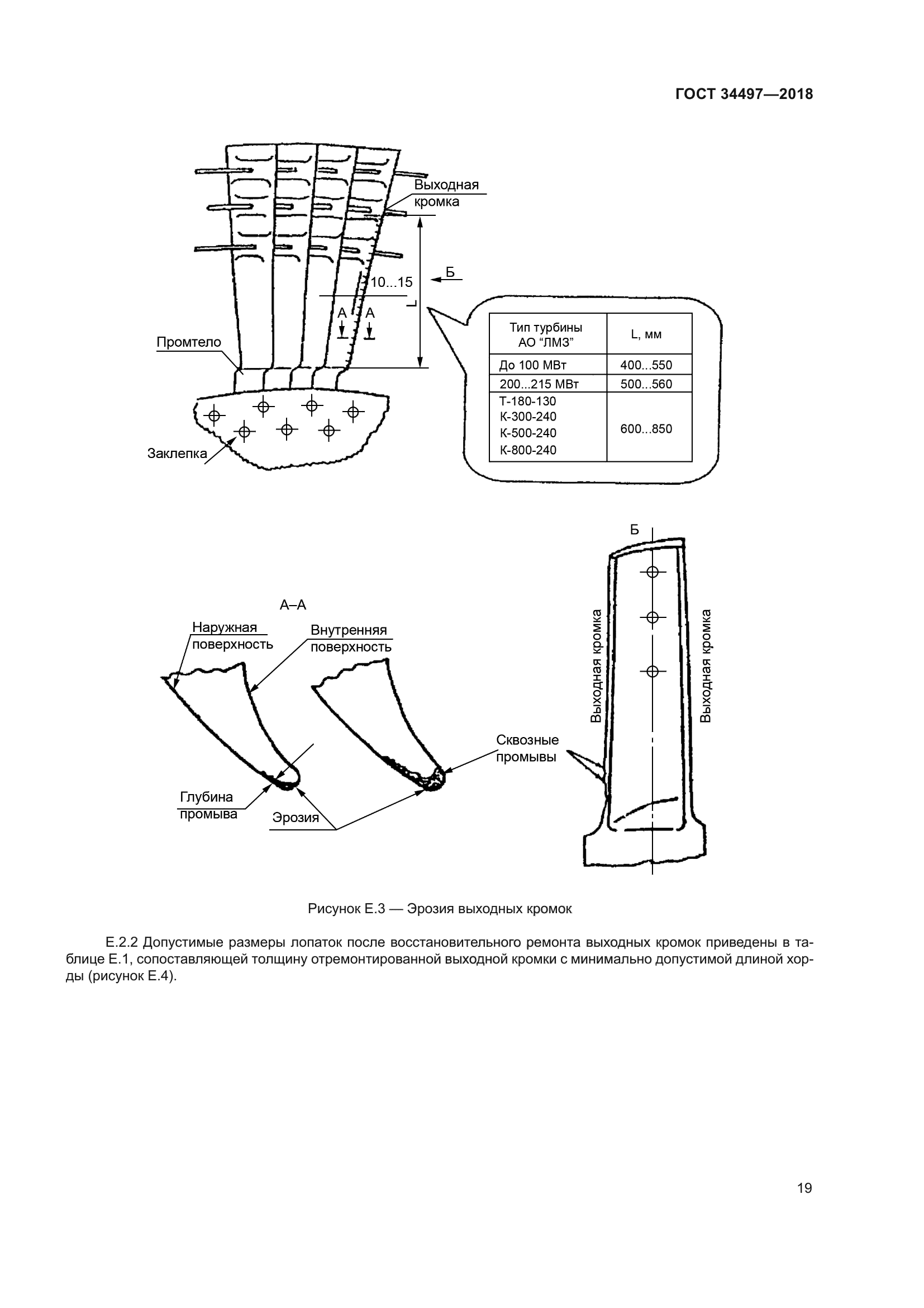
| Название рус.: | Лопатки паровых турбин. Основные требования по замене |
| Название англ.: | Вlades for steam turbines. Basic requirements for replacement |
| Дата актуализации текста: | 01.01.2024 |
| Дата актуализации описания: | 01.01.2024 |
| Дата регистрации: | 29.11.2018 |
| Дата издания: | 23.04.2019 |
| Дата введения: | 01.07.2019 |
| Нормативные ссылки: | ГОСТ 9012; ГОСТ 15467; ГОСТ 18442; ГОСТ 19431; ГОСТ 20911; ГОСТ 22761; ГОСТ 23269; ГОСТ 24291; ГОСТ 24346 |
| Область применения: | Настоящий стандарт распространяется на стационарные турбины любой мощности с постоянной или переменной частотой вращения ротора, эксплуатируемые на тепловых и атомных электростанциях, а также промышленных предприятиях. Стандарт устанавливает общие технические требования на замену рабочих лопаток паровых турбин, находящихся в эксплуатации. Требования стандарта не распространяются на входной контроль лопаток |
| Приложение №1: | Изменение №1 к ГОСТ 34497-2018 |
|
| Расположен в: |
|