| Обозначение: |  ГОСТ Р 58327-2018 |
| Статус: | действующий |
| Название рус.: | Грунты. Метод лабораторного определения параметров релаксации |
| Название англ.: | Soils. Laboratory method for determining parameters of relaxation |
| Дата актуализации текста: | 01.01.2021 |
| Дата актуализации описания: | 01.07.2023 |
| Дата издания: | 10.01.2019 |
| Дата введения: | 01.06.2019 |
| Нормативные ссылки: | ГОСТ 5180; ГОСТ 12071; ГОСТ 12248-2010; ГОСТ 12536; ГОСТ 25100; ГОСТ 30416 |
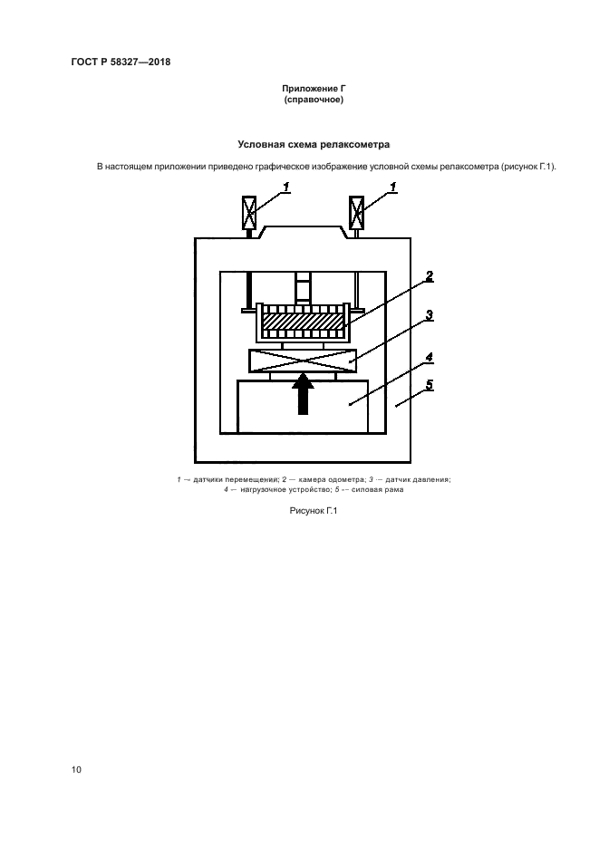
| Область применения: | Настоящий стандарт распространяется на дисперсные связные грунты ненарушенного сложения и несвязные грунты нарушенного сложения и устанавливает метод лабораторного определения параметров релаксации грунтов в условиях компрессионного сжатия. Настоящий стандарт не распространяется на набухающие, засоленные и мерзлые грунты |
|
| Расположен в: |
|