| Обозначение: |  ГОСТ ISO 2719-2017 |
| Статус: | действующий |
| Название рус.: | Нефтепродукты и другие жидкости. Определение температуры вспышки. Методы с применением прибора Пенски-Мартенса с закрытым тиглем |
| Название англ.: | Oil products and other liquils. Determination of flash point. Pensky-Martens closed cup methods |
| Дата актуализации текста: | 01.01.2021 |
| Дата актуализации описания: | 01.07.2023 |
| Дата регистрации: | 30.07.2017 |
| Дата издания: | 20.11.2018 |
| Дата введения: | 01.01.2019 |
| Взамен: | ГОСТ ISO 2719-2013 |
| Аутентичен стандартам: | ISO 2719:2016 |
| Нормативные ссылки: | ISO 1513;ISO 3170;ISO 3171;ISO 15528 |
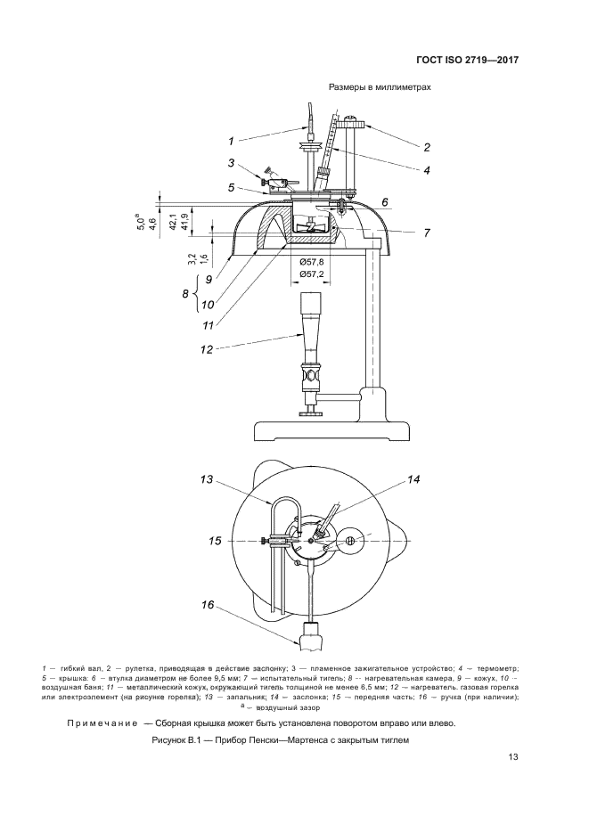
| Область применения: | Настоящий стандарт устанавливает три метода определения температуры вспышки (А, В и C) с использованием прибора Пенски-Мартенса с закрытым тиглем горючих жидкостей, в том числе жидкостей со взвешенными твердыми частицами, жидкостей, склонных к образованию поверхностной пленки в условиях испытания, дизельного биотоплива и других жидкостей с температурой вспышки в диапазоне от 40 °С до 370 °C |
| Приложение №1: | Поправка к ГОСТ ISO 2719-2017 |
|
| Расположен в: |
|