| ||||||||||||||||||||||||||||||||
Скачать ГОСТ 34442-2018 Лифты. Пожарная безопасностьДата актуализации: 01.06.2025
| ||||||||||||||||||||||||||||||||
| Обозначение: | ![]() ГОСТ 34442-2018 |
| Статус: | действующий |
| Название рус.: | Лифты. Пожарная безопасность |
| Название англ.: | Lifts. Fire safety |
| Дата актуализации текста: | 01.01.2021 |
| Дата актуализации описания: | 01.07.2023 |
| Дата регистрации: | 28.09.2018 |
| Дата издания: | 14.11.2018 |
| Дата введения: | 01.05.2019 |
| Содержит требования: | EN 81-73:2016 |
| Нормативные ссылки: | ГОСТ 33605-2015; ГОСТ 33653-2015 |
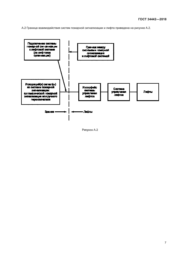
| Область применения: | Настоящий стандарт устанавливает требования пожарной безопасности к лифтам, не предназначенным для использования во время пожара. Стандарт распространяется на новые лифты, предназначенные для транспортирования людей или людей и грузов, устанавливаемые в зданиях, оборудованных системой пожарной сигнализации. Стандарт может быть использован в качестве базы для повышения пожарной безопасности находящихся в эксплуатации лифтов |
| Расположен в: | |

















