| Обозначение: |  ГОСТ Р 58176-2018 |
| Статус: | действующий |
| Название рус.: | Электроэнергетика. Энергетическое строительство. Организация пусконаладочных работ на тепловых электрических станциях. Общие требования |
| Название англ.: | Electric industry. Energy construction. Organisation of commissioning of thermal power plants. General requirements |
| Дата актуализации текста: | 01.01.2021 |
| Дата актуализации описания: | 01.07.2023 |
| Дата издания: | 19.10.2018 |
| Дата введения: | 01.03.2019 |
| Нормативные ссылки: | ГОСТ 12.1.030; ГОСТ 1516.1-76; ГОСТ 1516.2-97; ГОСТ 11677-85; ГОСТ 24278-2016; ГОСТ 24297; ГОСТ 27240;ГОСТ IEC 60044-1; ГОСТ Р 17.0.0.06; ГОСТ Р 21.1101-2013; ГОСТ Р 51317; ГОСТ Р 52200-2004; ГОСТ Р 55169; ГОСТ Р 55798; ГОСТ Р 57114; ГОСТ Р 58084; ГОСТ Р 58177-2018;СП 48.13330.2011;СП 68.13330.2017;СП 76.13330.2016;СП 246.1325800.2016 |
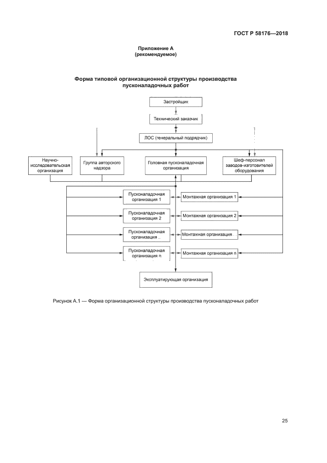
| Область применения: | Настоящий стандарт устанавливает общие требования к организации производства пусконаладочных работ на всех видах оборудования главного корпуса и общестанционных вспомогательных технологических объектах тепловых электрических станций, определенных проектом и входящих в состав пускового комплекса |
|
| Расположен в: |
|