| Обозначение: |    ГОСТ 8691-2018 | 
| Статус: | действующий | 
| Название рус.: | Изделия огнеупорные общего назначения. Форма и размеры | 
| Название англ.: | Refractory products of general use. Form and size | 
| Дата актуализации текста: | 01.01.2021 | 
| Дата актуализации описания: | 01.01.2021 | 
| Дата регистрации: | 27.06.2018 | 
| Дата издания: | 04.10.2018 | 
| Дата введения: | 01.02.2019 | 
| Взамен: |  ГОСТ 8691-73 | 
| Нормативные ссылки: |  ГОСТ 2.321-84 | 
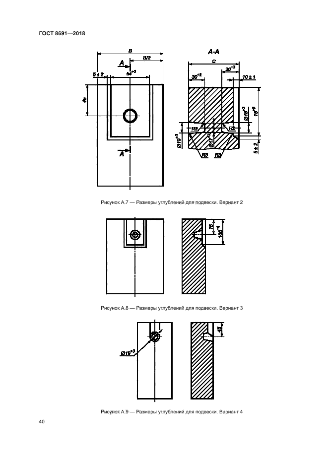
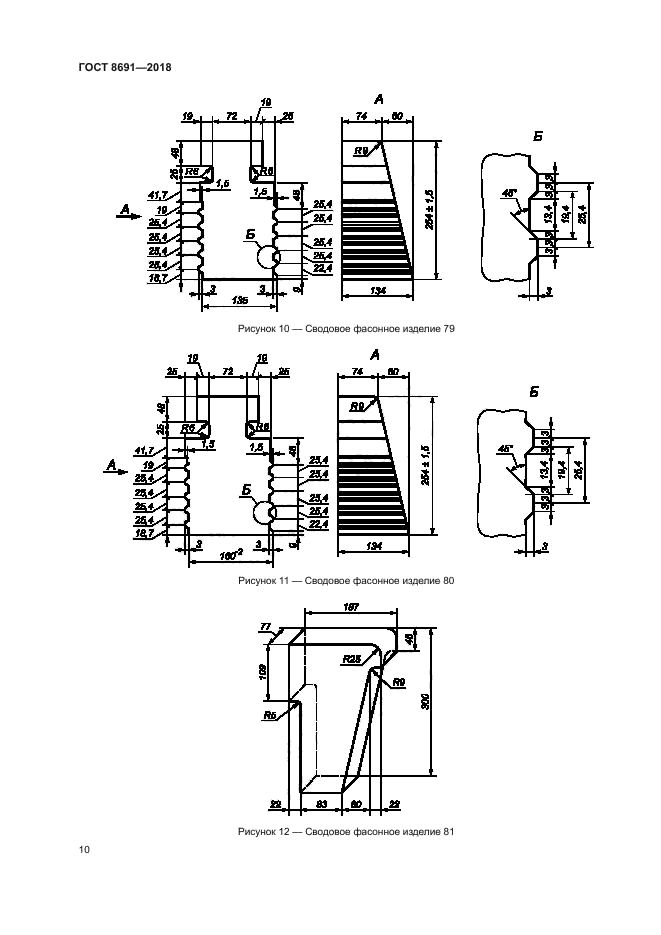
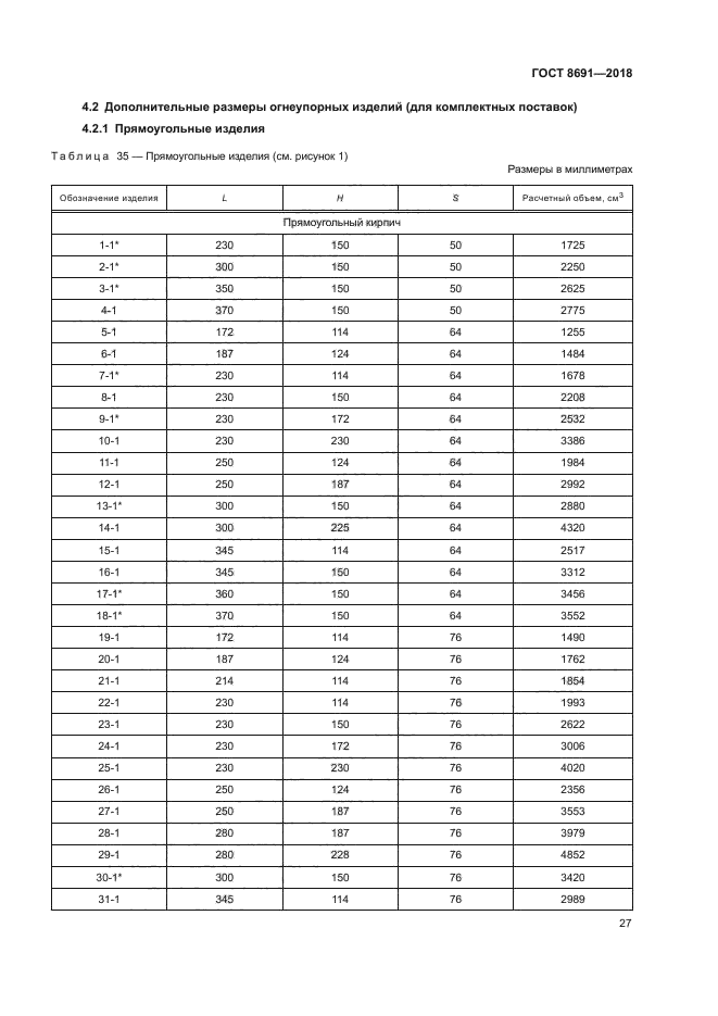
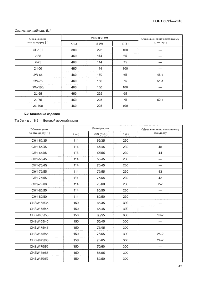
| Область применения: | Настоящий стандарт устанавливает форму и размеры огнеупорных изделий общего назначения, применяемых для футеровки различных тепловых агрегатов | 
 | 
| Расположен в: | 
  |