| Обозначение: |  ГОСТ Р 57982-2017 |
| Статус: | действующий |
| Название рус.: | Удлинители к гаечным торцовым ключам. Основные размеры |
| Название англ.: | Extension cords to the nut face keys. Basic dimensions |
| Дата актуализации текста: | 01.01.2021 |
| Дата актуализации описания: | 01.07.2023 |
| Дата издания: | 09.08.2018 |
| Дата введения: | 01.01.2019 |
| Содержит требования: | ISO 3317:2015 |
| Нормативные ссылки: | ГОСТ 24372-80; ГОСТ 25605-83; ГОСТ Р 57980-2017;ГОСТ ISO 1703-2015 |
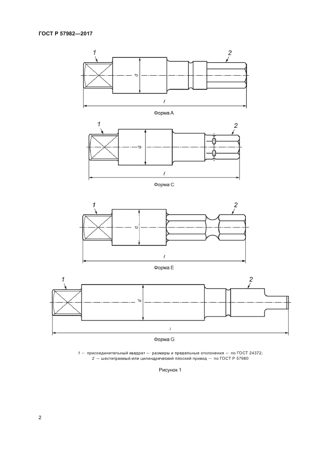
| Область применения: | Настоящий стандарт распространяется на удлинители с наружным присоединительным квадратом с шестигранным или цилиндрическим плоским приводом с обозначением 5 2 00 02 0 в соответствии с ГОСТ ISO 1703 для механизированных торцовых ключей |
|
| Расположен в: |
|