| Обозначение: |  ГОСТ Р ИСО 12988-1-2017 |
| Статус: | действующий |
| Название рус.: | Материалы углеродные для производства алюминия. Обожженные аноды. Определение реакционной способности с диоксидом углерода. Часть 1. Метод потери массы |
| Название англ.: | Carbonaceous materials used in the production of aluminium. Baked anodes. Determination of the reactivity to carbon dioxide. Part 1. Loss in mass method |
| Дата актуализации текста: | 01.01.2018 |
| Дата актуализации описания: | 01.01.2021 |
| Дата издания: | 07.05.2019 |
| Дата введения: | 01.08.2018 |
| Аутентичен стандартам: | ISO 12988-1:2000 |
| Нормативные ссылки: | ISO 8007-2:1999;IEC 60584-2(2013) |
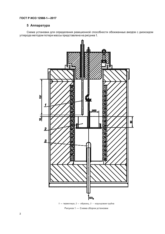
| Область применения: | Настоящий стандарт распространяется на обожженные аноды, используемые в производстве алюминия, и устанавливает метод потери массы для определения реакционной способности углеродных изделий с диоксидом углерода |
|
| Расположен в: |
|