| Обозначение: |  ГОСТ Р 57354-2016 |
| Статус: | действующий |
| Название рус.: | Опоры строительных конструкций. Часть 3. Опоры эластомерные. Технические условия |
| Название англ.: | Structural bearings. Part 3. Elastomeric bearings. Specifications |
| Дата актуализации текста: | 01.01.2021 |
| Дата актуализации описания: | 01.07.2023 |
| Дата издания: | 30.01.2017 |
| Дата введения: | 01.07.2017 |
| Дата окончания срока действия: | 14.01.2020 |
| Аутентичен стандартам: | EN 1337-3:2005 |
| Нормативные ссылки: | ISO 34-1;ISO 37;ISO 48;ISO 188;ISO 815;ISO 1431-1;EN 1337-1:2010;EN 1337-2:2004;prEN 1337-8;EN 1337-9:1997;EN 1337-10;EN 1337-11;EN 10025-1;EN 10025-2 |
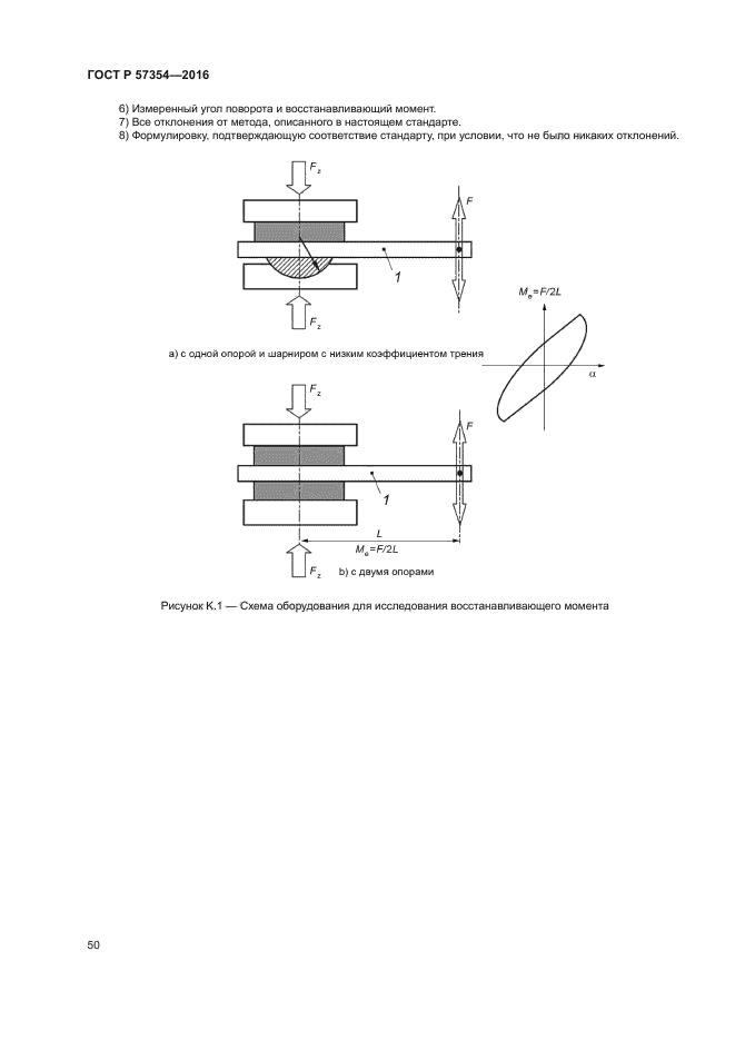
| Область применения: | Настоящий стандарт распространяется на эластомерные опоры, содержащие дополнительные элементы или без них, расширяющие область применения опор |
|
| Расположен в: |
|