| Обозначение: |  ГОСТ Р 57328-2016 |
| Статус: | действующий |
| Название рус.: | Экологический менеджмент. Руководство по включению экологических аспектов в стандарты на электротехническую продукцию |
| Дата актуализации текста: | 01.01.2021 |
| Дата актуализации описания: | 01.01.2021 |
| Дата издания: | 16.07.2019 |
| Дата введения: | 01.06.2017 |
| Аутентичен стандартам: | IEC Guide 109(2012) |
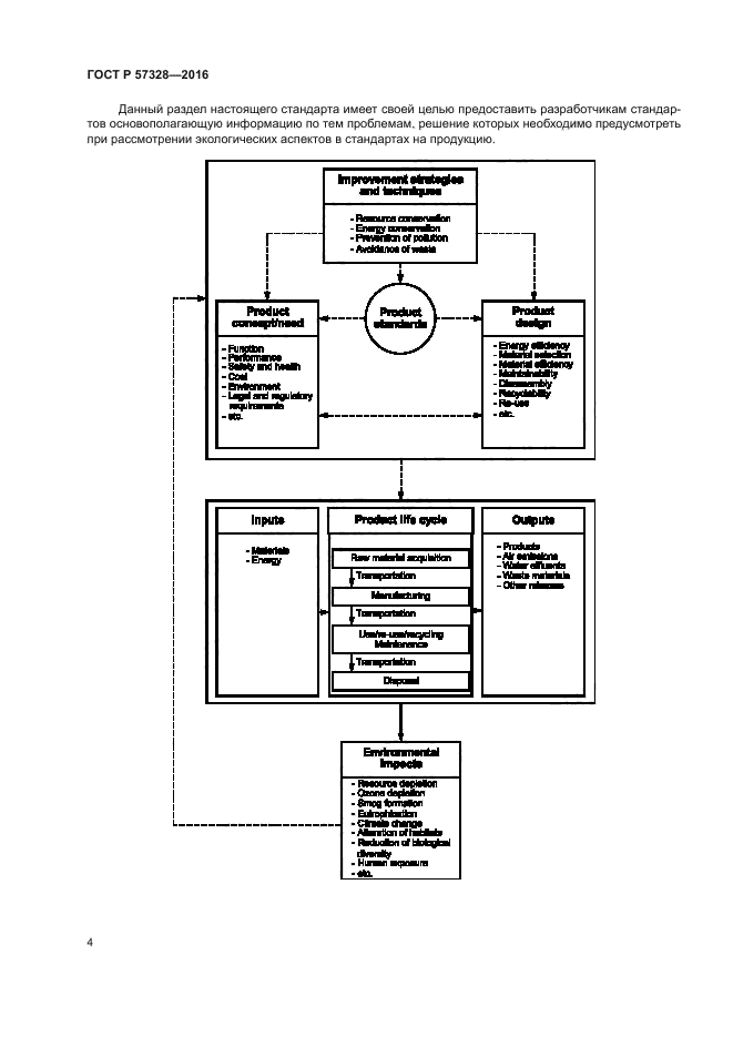
| Область применения: | Настоящий стандарт предназначен для разработчиков стандартов и содержит руководящие указания, как учитывать аспекты, относящиеся к воздействию электротехнической продукции на окружающую среду, при подготовке национальных и международных стандартов на продукцию |
|
| Расположен в: |
|