Информационная система
«Ёшкин Кот»

Скачать базу одним архивом
Скачать обновления
История создания базы
Карта сайта

Скачать ГОСТ ISO 11886-2016 Машины и оборудование строительные. Оборудование для погружения и извлечения свай. Терминология и технические условия на поставку

Дата актуализации: 01.06.2025

ГОСТ ISO 11886-2016

Машины и оборудование строительные. Оборудование для погружения и извлечения свай. Терминология и технические условия на поставку

Обозначение: ГОСТ ISO 11886-2016
Статус:действующий
Название рус.:Машины и оборудование строительные. Оборудование для погружения и извлечения свай. Терминология и технические условия на поставку
Дата актуализации текста:01.01.2021
Дата актуализации описания:01.07.2023
Дата регистрации:29.02.2016
Дата издания:19.08.2020
Дата введения:01.05.2017
Аутентичен стандартам:ISO 11886:2002
Нормативные ссылки:ISO 11375:1998;ISO/TR 12603;EN 996
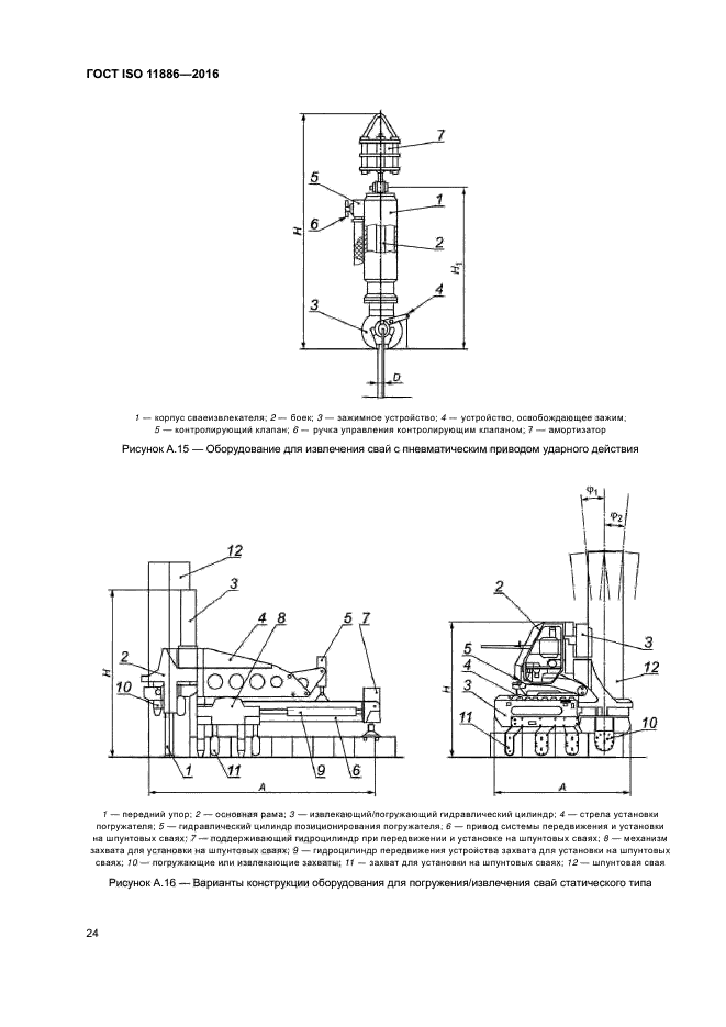
Область применения:Настоящий стандарт устанавливает термины и определения для основных видов механического оборудования для погружения и извлечения свай, таких как сваебойное оборудование на строительной площадке, оборудование для извлечения свай, оборудование для установки свай под определенным углом, оборудование для раскачки и извлечения свай, оборудование для дробления голов свай, и т. д. В настоящем стандарте не рассматривается оборудование для немеханической установки свай, например оборудование для погружения и извлечения свай небольшого сечения с помощью жидкости
Расположен в:Государственные стандарты Общероссийский классификатор стандартов Общие положения. Терминология. Стандартизация. Документация Словари Строительные материалы и строительство Строительное оборудование Классификатор государственных стандартов Машины, оборудование и инструмент Машины и оборудование для тяжелой индустрии Машины и оборудование для промышленности стройматериалов, строительства, дорожных и земляных работ и коммунального хозяйства
ГОСТ ISO 11886-2016ГОСТ ISO 11886-2016ГОСТ ISO 11886-2016ГОСТ ISO 11886-2016ГОСТ ISO 11886-2016ГОСТ ISO 11886-2016ГОСТ ISO 11886-2016ГОСТ ISO 11886-2016ГОСТ ISO 11886-2016ГОСТ ISO 11886-2016ГОСТ ISO 11886-2016ГОСТ ISO 11886-2016ГОСТ ISO 11886-2016ГОСТ ISO 11886-2016ГОСТ ISO 11886-2016ГОСТ ISO 11886-2016ГОСТ ISO 11886-2016ГОСТ ISO 11886-2016ГОСТ ISO 11886-2016ГОСТ ISO 11886-2016ГОСТ ISO 11886-2016ГОСТ ISO 11886-2016ГОСТ ISO 11886-2016ГОСТ ISO 11886-2016ГОСТ ISO 11886-2016ГОСТ ISO 11886-2016ГОСТ ISO 11886-2016ГОСТ ISO 11886-2016ГОСТ ISO 11886-2016ГОСТ ISO 11886-2016ГОСТ ISO 11886-2016

© 2013 Ёшкин Кот :-) Карта сайта