| Обозначение: |  ГОСТ Р ИСО 10142-2016 |
| Статус: | действующий |
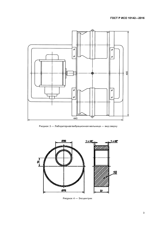
| Название рус.: | Материалы углеродные для производства алюминия. Прокаленный кокс. Определение прочности зерен с использованием лабораторной вибрационной мельницы |
| Дата актуализации текста: | 01.12.2016 |
| Дата актуализации описания: | 01.07.2023 |
| Дата издания: | 27.06.2019 |
| Дата введения: | 01.07.2017 |
| Код ОКП: | 191000 |
| Аутентичен стандартам: | ISO 10142:1996 |
| Нормативные ссылки: | ISO 3310-1:2000;ISO 6375:1980 |
| Область применения: | Настоящий стандарт распространяется на прокаленные коксы, используемые в углеродных материалах для производства алюминия, и устанавливает метод определения прочности зерен с использованием лабораторной вибрационной мельницы, заполненной стальными шариками. Прокаленный кокс с низкой механической прочностью может разрушаться в процессе смешивания. Нестабильность размеров зерен кокса приводит к ухудшению качества обожженных блоков |
|
| Расположен в: |
|