Информационная система
«Ёшкин Кот»

Скачать базу одним архивом
Скачать обновления
История создания базы
Карта сайта

Скачать ГОСТ Р 56711-2015 Соединения нагельного типа для деревянных конструкций. Технические условия

Дата актуализации: 01.06.2025

ГОСТ Р 56711-2015

Соединения нагельного типа для деревянных конструкций. Технические условия

Обозначение: ГОСТ Р 56711-2015
Статус:действующий
Название рус.:Соединения нагельного типа для деревянных конструкций. Технические условия
Название англ.:Pin type connection for wooden structures. Specifications
Дата актуализации текста:01.01.2021
Дата актуализации описания:01.07.2023
Дата издания:06.12.2019
Дата введения:01.05.2016
Код ОКП:536660
Нормативные ссылки:ГОСТ 166;ГОСТ 427;ГОСТ 2140;ГОСТ Р ИСО 3951-1;ГОСТ 4028;ГОСТ 6449.4;ГОСТ 16588;ГОСТ 24454;ГОСТ 33080;ГОСТ 33081;ГОСТ 33082;СП 64.13330.2011
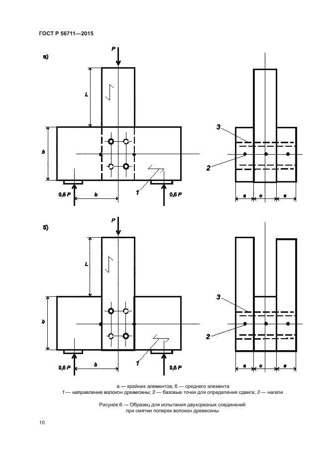
Область применения:Настоящий стандарт устанавливает технические требования к соединениям нагельного типа (далее - соединения), используемым для крепления элементов деревянных конструкций, а также устанавливает правила по методам испытаний, приемки готовых соединений и дает рекомендации по их применению. Стандарт распространяется на соединения с использованием цилиндрических нагелей из металла, дерева и пластмасс (болты, шпильки, нагели, гвозди, шурупы, глухари, винты и т.п.), работающих преимущественно на сдвиг. В настоящем стандарте установлены критерии оценки соответствия нагельных соединений действующим требованиям, а также оценки их несущей способности и деформативности при действии эксплуатационных нагрузок
Расположен в:Государственные стандарты Общероссийский классификатор стандартов Строительные материалы и строительство Конструкции зданий Деревянные конструкции Классификатор государственных стандартов Строительство и стройматериалы Строительные конструкции и детали Деревянные конструкции и детали Окп Продукция лесозаготовительной и лесопильно-деревообрабатывающей промышленности Изделия деревянные строительные и дома стандартные Конструкции строительные Конструкции деревянные клееные, несущие /
ГОСТ Р 56711-2015ГОСТ Р 56711-2015ГОСТ Р 56711-2015ГОСТ Р 56711-2015ГОСТ Р 56711-2015ГОСТ Р 56711-2015ГОСТ Р 56711-2015ГОСТ Р 56711-2015ГОСТ Р 56711-2015ГОСТ Р 56711-2015ГОСТ Р 56711-2015ГОСТ Р 56711-2015ГОСТ Р 56711-2015ГОСТ Р 56711-2015ГОСТ Р 56711-2015

© 2013 Ёшкин Кот :-) Карта сайта