| ||||||||||||||||||||||||||||||
Скачать ГОСТ Р 56719-2015 Газ горючий природный сжиженный. Отбор пробДата актуализации: 01.06.2025
| ||||||||||||||||||||||||||||||
| Обозначение: | ![]() ГОСТ Р 56719-2015 |
| Статус: | отменён |
| Название рус.: | Газ горючий природный сжиженный. Отбор проб |
| Дата актуализации текста: | 01.01.2021 |
| Дата актуализации описания: | 01.01.2025 |
| Дата издания: | 29.11.2019 |
| Дата введения: | 01.01.2017 |
| Дата окончания срока действия: | 01.01.2025 |
| На территории РФ пользоваться: | ГОСТ 35011-2023 |
| Нормативные ссылки: | ГОСТ 12.0.004; ГОСТ 12.1.004; ГОСТ 12.1.005; ГОСТ 12.1.007; ГОСТ 12.1.044; ГОСТ 12.2.020; ГОСТ 12.4.009; ГОСТ 12.4.011; ГОСТ 12.4.021; ГОСТ 17.2.3.02; ГОСТ 2405; ГОСТ 2603; ГОСТ 2768; ГОСТ 5632; ГОСТ 5962; ГОСТ 9293; ГОСТ 9805; ГОСТ 10007; ГОСТ 10157; ГОСТ 11881; ГОСТ 13045; ГОСТ 14162; ГОСТ 14254; ГОСТ 15150; ГОСТ 17299; ГОСТ 19433; ГОСТ 28498; ГОСТ 30679; ГОСТ 30852.0; ГОСТ 30852.1; ГОСТ 30852.5; ГОСТ 30852.10; ГОСТ 30852.19; ГОСТ 31370; ГОСТ Р 12.1.019; ГОСТ Р 51999; ГОСТ Р 52574; ГОСТ Р 53521; ГОСТ Р 55878;СП 5.13130;СП 30.13330;СП 31.13330;СП 60.13330 |
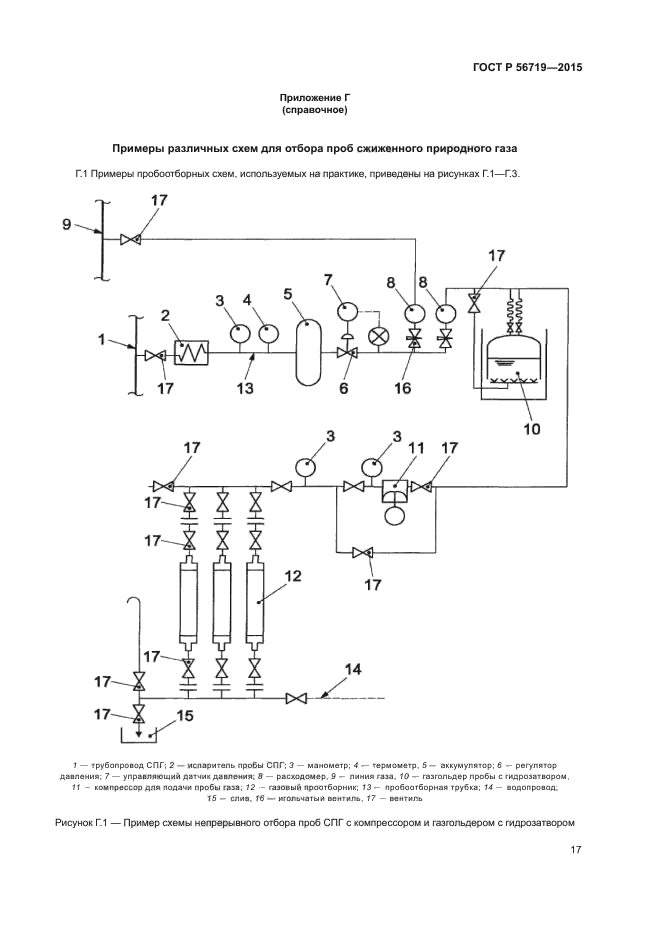
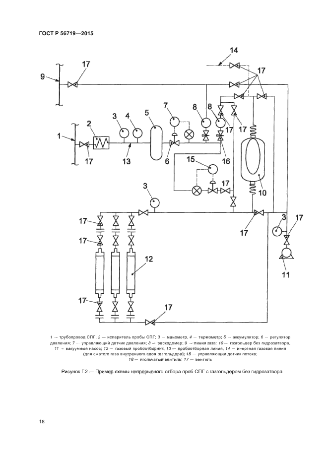
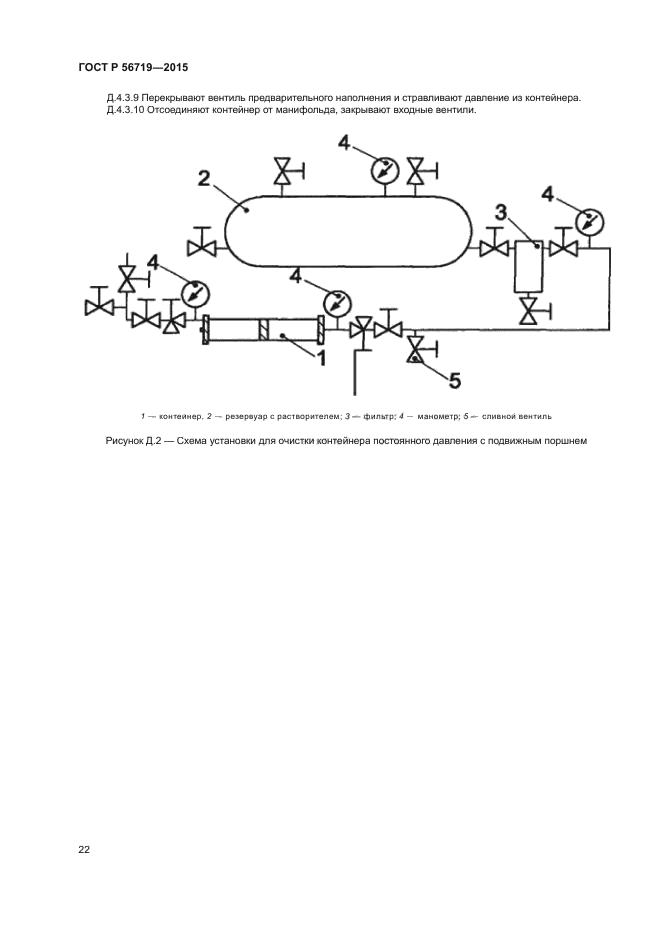
| Область применения: | Настоящий стандарт распространяется на сжиженный природный газ (СПГ), поступающий с установок сжижения, а также подаваемый для дальнейшего хранения, транспортирования и потребления. Настоящий стандарт устанавливает основные принципы и порядок действий при проведении отбора проб сжиженного природного газа |
| Расположен в: | |


























