Информационная система
«Ёшкин Кот»

Скачать базу одним архивом
Скачать обновления
История создания базы
Карта сайта

Скачать ГОСТ Р ИСО 10303-52-2015 Системы автоматизации производства и их интеграция. Представление данных об изделии и обмен этими данными. Часть 52. Интегрированный обобщенный ресурс. Решетчатая топология

Дата актуализации: 01.06.2025

ГОСТ Р ИСО 10303-52-2015

Системы автоматизации производства и их интеграция. Представление данных об изделии и обмен этими данными. Часть 52. Интегрированный обобщенный ресурс. Решетчатая топология

Обозначение: ГОСТ Р ИСО 10303-52-2015
Статус:действующий
Название рус.:Системы автоматизации производства и их интеграция. Представление данных об изделии и обмен этими данными. Часть 52. Интегрированный обобщенный ресурс. Решетчатая топология
Дата актуализации текста:26.02.2016
Дата актуализации описания:01.07.2023
Дата издания:29.05.2020
Дата введения:01.10.2016
Аутентичен стандартам:ISO 10303-52:2011
Нормативные ссылки:ISO 10303-1;ISO 10303-11;ISO 10303-41;ISO 10303-42;ISO 10303-50;ISO 10303-51;ISO 10303-104;ISO 10303-110;ISO 13584-20
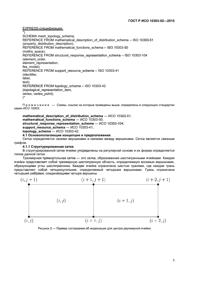
Область применения:В настоящем стандарте приведены обобщенные, независимые от области применения, средства представления структурированных и неструктурированных сеток, а также математических функций и числовых данных, определенных на этих сетках. Схемы в настоящем документе специфицированы на языке EXPRESS; определение языка EXPRESS дано в ИСО 10303-11. В область применения настоящего стандарта входят: - решетчатые топологии; - связность ячеек и соединения многоблочных сеток; - математические функции, определенные на сетках; - связь численных данных с ячейками, гранями, ребрами и вершинами сетки. В область применения настоящего стандарта не входит: - применение решетчатых топологий; - применение границ разделов между сетками; - семантика данных, связанных с сеткой
Расположен в:Государственные стандарты Общероссийский классификатор стандартов Машиностроение Промышленные автоматизированные системы Измерение и контроль производственного процесса Классификатор государственных стандартов Измерительные приборы. Средства автоматизации и вычислительной техники Средства вычислительной техники и автоматизированные системы управления Автоматизированные системы управления
ГОСТ Р ИСО 10303-52-2015ГОСТ Р ИСО 10303-52-2015ГОСТ Р ИСО 10303-52-2015ГОСТ Р ИСО 10303-52-2015ГОСТ Р ИСО 10303-52-2015ГОСТ Р ИСО 10303-52-2015ГОСТ Р ИСО 10303-52-2015ГОСТ Р ИСО 10303-52-2015ГОСТ Р ИСО 10303-52-2015ГОСТ Р ИСО 10303-52-2015ГОСТ Р ИСО 10303-52-2015ГОСТ Р ИСО 10303-52-2015ГОСТ Р ИСО 10303-52-2015ГОСТ Р ИСО 10303-52-2015ГОСТ Р ИСО 10303-52-2015ГОСТ Р ИСО 10303-52-2015ГОСТ Р ИСО 10303-52-2015ГОСТ Р ИСО 10303-52-2015ГОСТ Р ИСО 10303-52-2015ГОСТ Р ИСО 10303-52-2015ГОСТ Р ИСО 10303-52-2015ГОСТ Р ИСО 10303-52-2015ГОСТ Р ИСО 10303-52-2015ГОСТ Р ИСО 10303-52-2015ГОСТ Р ИСО 10303-52-2015ГОСТ Р ИСО 10303-52-2015ГОСТ Р ИСО 10303-52-2015ГОСТ Р ИСО 10303-52-2015ГОСТ Р ИСО 10303-52-2015ГОСТ Р ИСО 10303-52-2015ГОСТ Р ИСО 10303-52-2015ГОСТ Р ИСО 10303-52-2015ГОСТ Р ИСО 10303-52-2015ГОСТ Р ИСО 10303-52-2015ГОСТ Р ИСО 10303-52-2015ГОСТ Р ИСО 10303-52-2015ГОСТ Р ИСО 10303-52-2015ГОСТ Р ИСО 10303-52-2015ГОСТ Р ИСО 10303-52-2015ГОСТ Р ИСО 10303-52-2015ГОСТ Р ИСО 10303-52-2015ГОСТ Р ИСО 10303-52-2015ГОСТ Р ИСО 10303-52-2015ГОСТ Р ИСО 10303-52-2015ГОСТ Р ИСО 10303-52-2015ГОСТ Р ИСО 10303-52-2015ГОСТ Р ИСО 10303-52-2015ГОСТ Р ИСО 10303-52-2015ГОСТ Р ИСО 10303-52-2015ГОСТ Р ИСО 10303-52-2015ГОСТ Р ИСО 10303-52-2015ГОСТ Р ИСО 10303-52-2015ГОСТ Р ИСО 10303-52-2015ГОСТ Р ИСО 10303-52-2015ГОСТ Р ИСО 10303-52-2015ГОСТ Р ИСО 10303-52-2015ГОСТ Р ИСО 10303-52-2015ГОСТ Р ИСО 10303-52-2015ГОСТ Р ИСО 10303-52-2015ГОСТ Р ИСО 10303-52-2015ГОСТ Р ИСО 10303-52-2015ГОСТ Р ИСО 10303-52-2015ГОСТ Р ИСО 10303-52-2015

© 2013 Ёшкин Кот :-) Карта сайта