| ||||||||||||||||||||||||||||||||||||
Скачать ГОСТ 6943.10-2015 Материалы текстильные стеклянные. Метод определения разрывной нагрузки и удлинения при разрывеДата актуализации: 01.06.2025
| ||||||||||||||||||||||||||||||||||||
| Обозначение: | ![]() ГОСТ 6943.10-2015 |
| Статус: | действующий |
| Название рус.: | Материалы текстильные стеклянные. Метод определения разрывной нагрузки и удлинения при разрыве |
| Дата актуализации текста: | 01.06.2022 |
| Дата актуализации описания: | 01.07.2023 |
| Дата регистрации: | 18.06.2015 |
| Дата издания: | 08.10.2015 |
| Дата введения: | 01.06.2016 |
| Взамен: | ГОСТ 6943.10-79 |
| Нормативные ссылки: | ГОСТ Р 55878-2013; ГОСТ 427-75; ГОСТ 2768-84; ГОСТ 3647-80; ГОСТ 6943.0-93; ГОСТ 8728-88; ГОСТ 10587-84; ГОСТ 12172-74; ГОСТ 17299-78; ГОСТ 18300-87; ГОСТ 18694-80; ГОСТ 20907-75; ГОСТ 23367-86 |
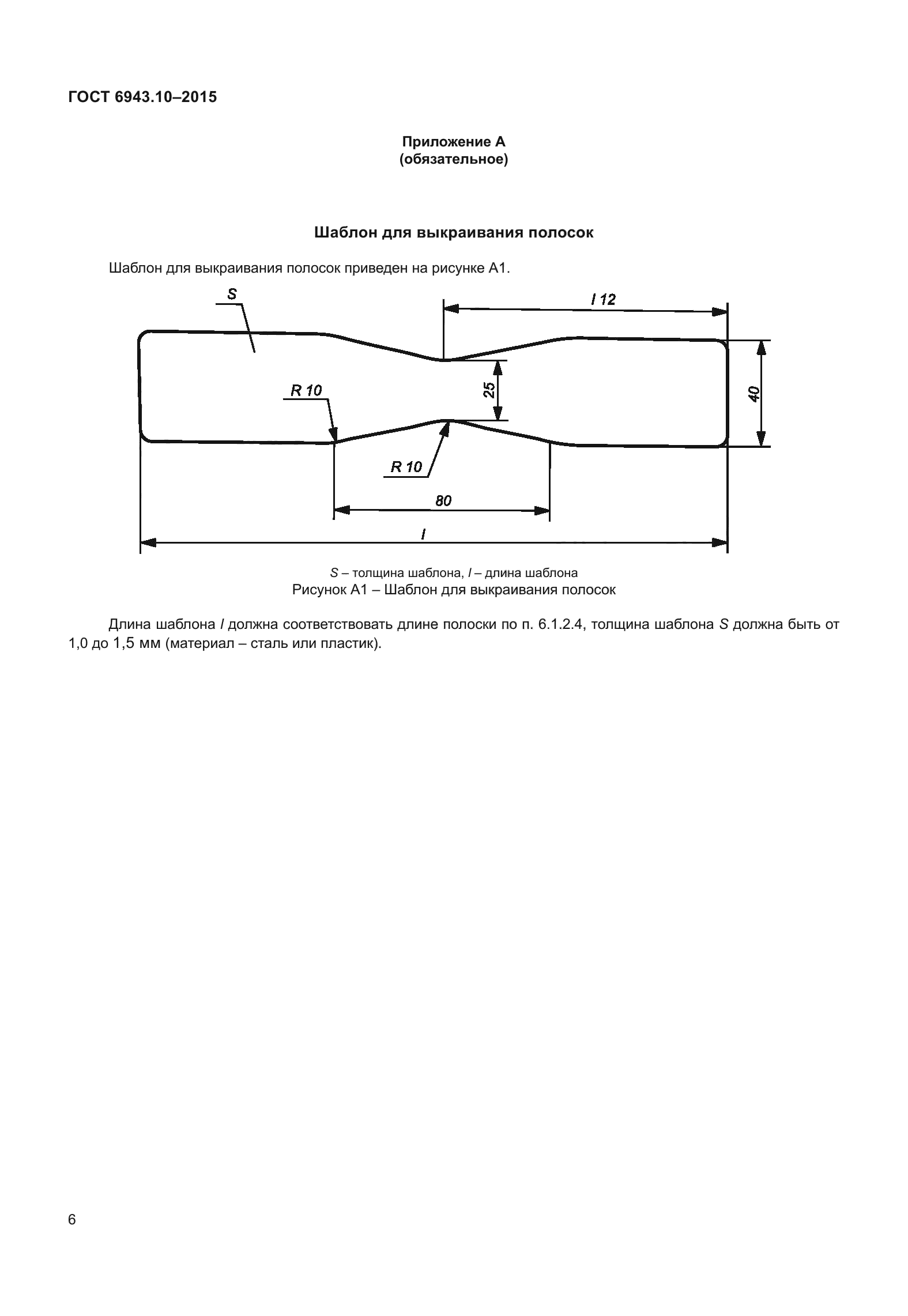
| Область применения: | Настоящий стандарт распространяется на стекловолокнистые материалы: стеклянные нити, ткани, ровинги, сетки, ленты, нетканые перекрестные и тканеподобные материалы, не имеющие переплетения, и устанавливает метод определения разрывной нагрузки и удлинения при разрыве. Настоящий стандарт не распространяется на прошивные трикотажные материалы, нетканые клееные полотна с хаотическим расположением нитей |
| Приложение №1: | Поправка к ГОСТ 6943.10-2015 |
| Расположен в: | |













| Обозначение: | Поправка к ГОСТ 6943.10-2015 |
| Дата введения: | 27.12.2021 |
