| Обозначение: |  ГОСТ Р 51322.1-99 |
| Статус: | заменён |
| Название рус.: | Соединители электрические штепсельные бытового и аналогичного назначения. Часть 1. Общие требования и методы испытаний |
| Название англ.: | Plugs and socket-outlets for household and similar purposes. Part 1. Requirements and methods of tests |
| Дата актуализации текста: | 06.04.2015 |
| Дата актуализации описания: | 01.07.2023 |
| Дата издания: | 03.08.2000 |
| Дата введения: | 01.01.2001 |
| Дата окончания срока действия: | 01.07.2012 |
| Код ОКП: | 346400 |
| Заменяющий: | ГОСТ Р 51322.1-2011 |
| Содержит требования: | IEC 60884-1(1994) |
| Нормативные ссылки: | ГОСТ 12.2.007.0-75; ГОСТ 7396.0-89; ГОСТ 7396.1-89; ГОСТ 8594-80; ГОСТ 8724-81; ГОСТ 14254-96; ГОСТ 16504-81; ГОСТ 27473-87; ГОСТ 24622-91; ГОСТ 27483-87; ГОСТ 28216-89; ГОСТ 28312-89; ГОСТ 30331.3-95; ГОСТ Р 50571.3-94; ГОСТ Р МЭК 227-5-94; ГОСТ Р МЭК 245-1-97; ГОСТ 245-4-97; ГОСТ Р 50827-95; ГОСТ Р 51322.2.4-99; ГОСТ Р 51322.2.5-99; ГОСТ Р 51325.1-99; ГОСТ 51539-99; ГОСТ Р 60227-1-99 |
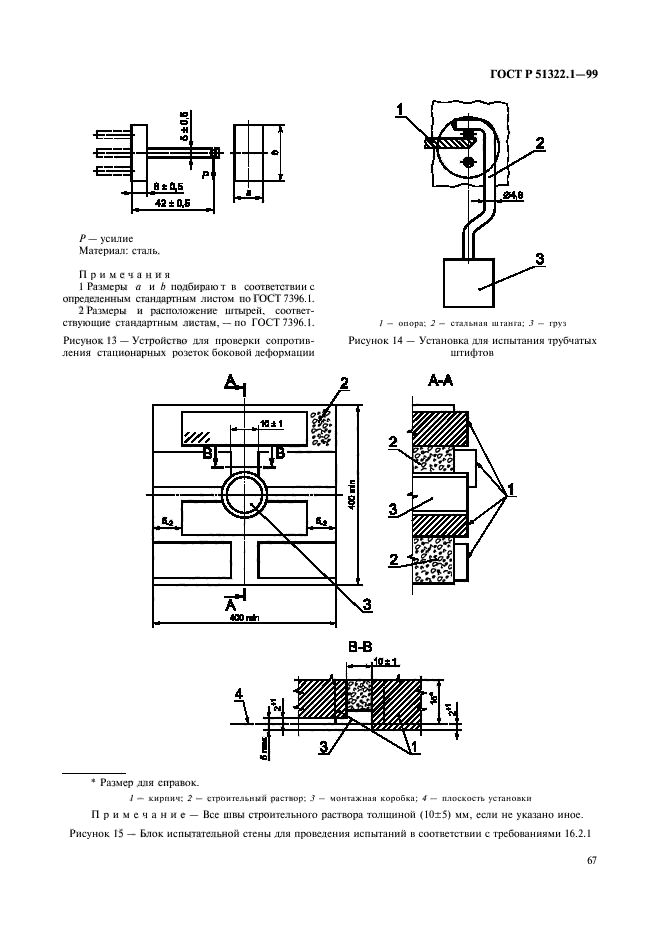
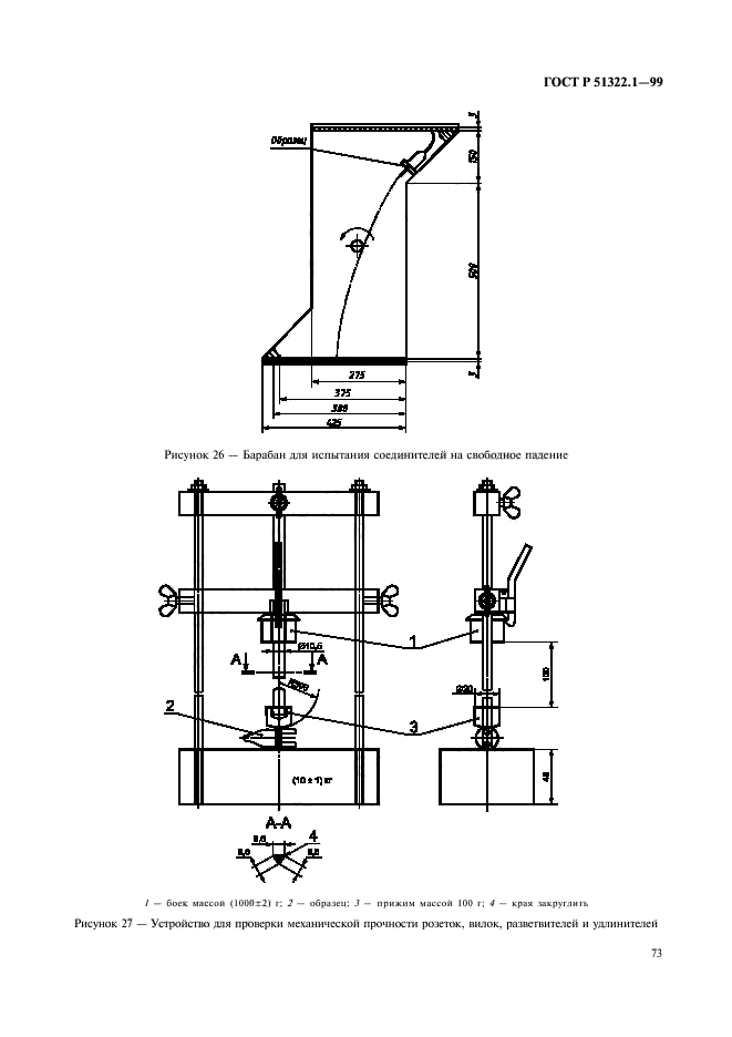
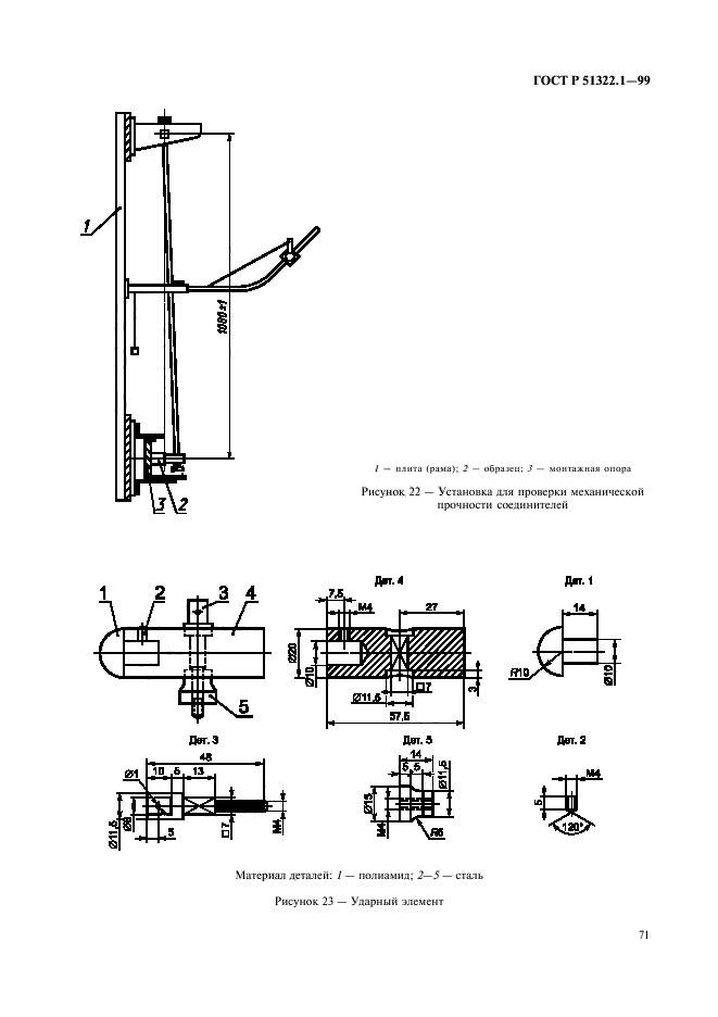
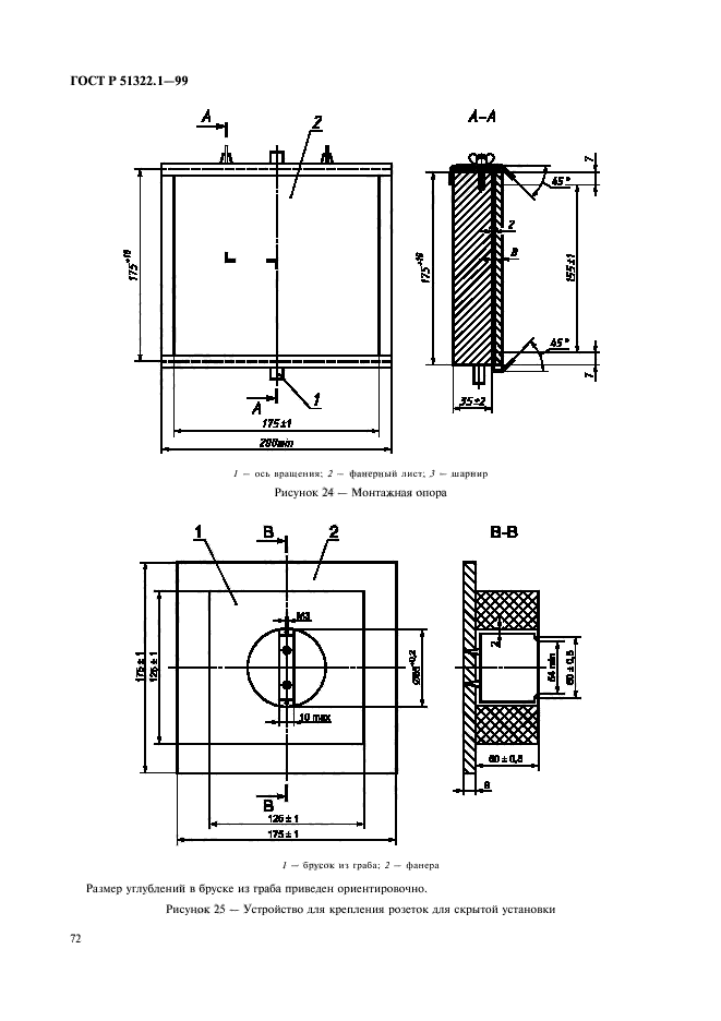
| Область применения: | Настоящий стандарт распространяется на вилки и розетки как стационарные, так и переносные, бытового и аналогичного назначения, предназначенные для присоединения электрических приемников с номинальным напряжением св. 50 В, но не выше 440 В и номинальными токами не более 32 А к электрической сети переменного тока при внутренней и наружной установке в зданиях. Номинальный ток для розеток с безвинтовыми контактными зажимами ограничен максимально до 16 А. Стандарт распространяется также на вилки, опрессованные со шнуром, и вилки и переносные розетки, опрессованные со шнуром. Стандарт не распространяется: - на вилки и розетки промышленного назначения; - на вилки и стационарные и переносные розетки для сверхнизких напряжений; - на соединители приборные; - на стационарные розетки с предохранителем, автоматические выключатели и т. д. Стандарт не распространяется на вилки и розетки, предназначенные для использования в местах с особыми условиями среды, например на средства водного и наземного транспорта, а также во взрывоопасных условиях |
| Список изменений: | №0 от 14.09.2001 (рег. 14.09.2001) «Дата введения перенесена» |
| Приложение №1: | Поправка к ГОСТ Р 51322.1-99 |
| Приложение №2: | Поправка к ГОСТ Р 51322.1-99 |
|
| Расположен в: |
|